Warenkorb

Es gibt keine Treffer zu Ihrer Suche

260040

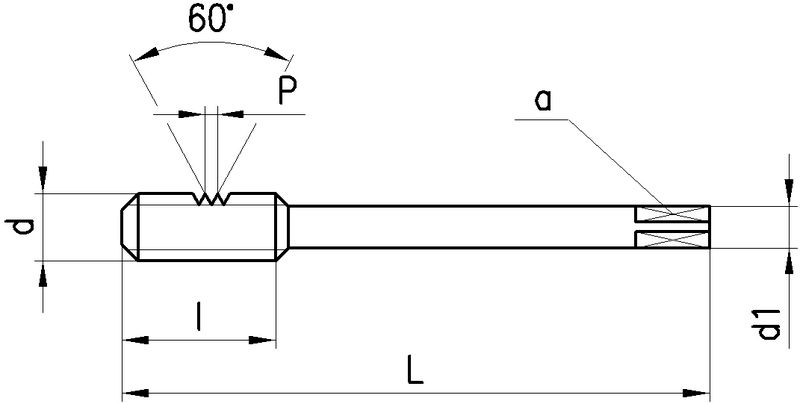
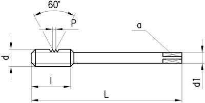
DC Gewindebohrer Metrisches ISO-Gewinde

Produkteigenschaften:
P_SwissMade_(P010) P_HSS-E P_M_ P_RH P_ISO2_6H P_C_2-3 P_Schaftform_Vierkant P_Z3
Anwendung:
P_Nebenanwendung M_neutral K_Nebenanwendung N_Nebenanwendung S_neutral H_neutral O_Nebenanwendung P_DLSL_1.5 W02010N
gerade Nuten, bis 1,5 x D, SwissMade, HSS-E, Metrisches ISO-Gewinde, Rechtsgewinde, Toleranzfeld ISO2 / 6H, Anschnittform C (2-3 x P), Zylinderschaft mit Vierkant, Anzahl Zähne 3
Leistungsklasse N
Für kurz und mittellang spanende Werkstoffe mit einer Zugfestigkeit von Rm > 350...1000 N/mm2.
Lochart: Durchgangsloch und Sackloch < 1.5 x d.
Ausführungen:
M3...M20: N410-3, Schaft durchfallend, DIN 376
Verwendbar mit:
272240 Gewinde-Boy
272241 Ersatzteil Gewinde-Boy
11 gefundene Artikel
Seite
1 2
FILTER
d
d

Filter löschen
P [mm]
P [mm]

Filter löschen
Norm
Norm

Filter löschen
L [mm]
L [mm]

Filter löschen
Artikel Nr
Bezeichnung
d
M3 - M20
P [mm]
0.5 - 2.5
Norm
376
L [mm]
56 - 140
a [mm]
1.8 - 12
d1 [mm]
2.2 - 16
l [mm]
12 - 36
Anschnittlänge
2.5 x P
Ø [mm]
2.5 - 17.5
Anzahl Zähne
3
Typ
N410-3
Netto CHF
zzgl. Versand
Staffelung
Netto CHF
zzgl. Versand
Menge
11 gefundene Artikel
Seite
1 2
Loading...
zzgl.
pro