Warenkorb

Es gibt keine Treffer zu Ihrer Suche

260080

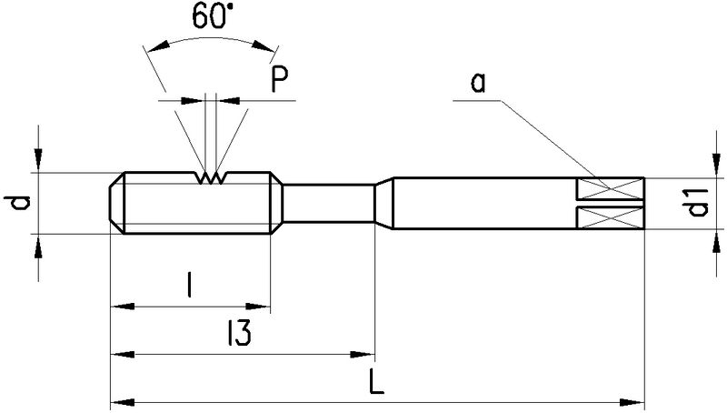
DC Gewindebohrer Metrisches ISO-Gewinde

Produkteigenschaften:
P_SwissMade_(P010) P_HSS-E P_VAP P_M_ P_RH P_ISO2_6H P_B_3.5-5.5 P_Schaftform_Vierkant P_Z2-3
Anwendung:
P_Hauptanwendung M_neutral K_neutral N_neutral S_neutral H_neutral O_neutral P_Durchgangsloch W02011N
gerade Nuten, Schälanschnitt, SwissMade, HSS-E, vaporisiert, Metrisches ISO-Gewinde, Rechtsgewinde, Toleranzfeld ISO2 / 6H, Anschnittform B (3.5-5.5 x P), Zylinderschaft mit Vierkant, Anzahl Zähne 2-3
Leistungsklasse N
Für langspanende Werkstoffe mit einer Zugfestigkeit von Rm > 350...1000 N/mm2.
Anschnittlänge:

M2: 2.5 x P
M2.5...M10: 4 x P
Lochart: Durchgangsloch.
Ausführungen:
M2: N320V-3, Schaft verstärkt, DIN 371, Anzahl Zähne:2
M2.5...M10: N320V-4, Schaft verstärkt, DIN 371, Anzahl Zähne:3
Ist Bestandteil von:
261560 DC Satz Gewindebohrer
9 gefundene Artikel
FILTER
d
d

Filter löschen
P [mm]
P [mm]

Filter löschen
Norm
Norm

Filter löschen
L [mm]
L [mm]

Filter löschen
Artikel Nr
Bezeichnung
d
M2 - M10
P [mm]
0.4 - 1.5
Norm
371
L [mm]
45 - 100
a [mm]
2.1 - 8
d1 [mm]
2.8 - 10
l [mm]
8 - 22
Anschnittlänge
2.5 x P - 4 x P
l3 [mm]
- - 39
Ø [mm]
1.6 - 8.5
Z
2 - 3
Anzahl Zähne
2 - 3
Typ
N320V-3 - N320V-4
Netto CHF
zzgl. Versand
Staffelung
Netto CHF
zzgl. Versand
Menge
9 gefundene Artikel
Loading...
zzgl.
pro