Warenkorb

Es gibt keine Treffer zu Ihrer Suche

260220

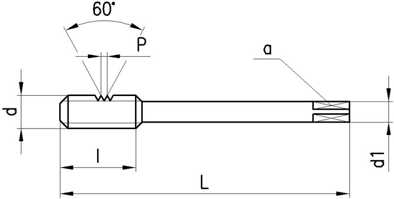
DC Gewindebohrer Metrisches ISO-Gewinde

Produkteigenschaften:
P_SwissMade_(P010) P_HSS-E P_VAP P_M_ P_RH P_ISO2_6H P_B_3.5-5.5 P_Schaftform_Vierkant P_Z3-4
Anwendung:
P_Hauptanwendung M_neutral K_neutral N_neutral S_neutral H_neutral O_neutral P_Durchgangsloch W02011N
gerade Nuten, Schälanschnitt, SwissMade, HSS-E, vaporisiert, Metrisches ISO-Gewinde, Rechtsgewinde, Toleranzfeld ISO2 / 6H, Anschnittform B (3.5-5.5 x P), Zylinderschaft mit Vierkant, Anzahl Zähne 3-4
Leistungsklasse N
Für langspanende Werkstoffe mit einer Zugfestigkeit von Rm > 350...1000 N/mm2.
Anschnittlänge:
4 x P
Lochart: Durchgangsloch.
Ausführungen:
M3...M24: N420V-4, Schaft durchfallend, DIN 376
13 gefundene Artikel
Seite
1 2
FILTER
d
d

Filter löschen
P [mm]
P [mm]

Filter löschen
Norm
Norm

Filter löschen
L [mm]
L [mm]

Filter löschen
Artikel Nr
Bezeichnung
d
M3 - M24
P [mm]
0.5 - 3
Norm
376
L [mm]
56 - 160
a [mm]
1.8 - 14.5
d1 [mm]
2.2 - 18
l [mm]
12 - 39
Anschnittlänge
4 x P
Ø [mm]
2.5 - 21
Z
3 - 4
Typ
N420V-4
Netto CHF
zzgl. Versand
Staffelung
Netto CHF
zzgl. Versand
Menge
13 gefundene Artikel
Seite
1 2
Loading...
zzgl.
pro