Warenkorb

Es gibt keine Treffer zu Ihrer Suche

260300

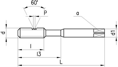
DC Gewindebohrer Metrisches ISO-Gewinde, links.

Produkteigenschaften:
P_SwissMade_(P010) P_HSS-E P_M_ P_LH P_ISO2_6H P_B_3.5-5.5 P_Schaftform_Vierkant P_Z2-3
Anwendung:
P_neutral M_neutral K_neutral N_Nebenanwendung S_neutral H_neutral O_neutral P_Durchgangsloch W02011N
gerade Nuten, Schälanschnitt, SwissMade, HSS-E, Metrisches ISO-Gewinde, Linksgewinde, Toleranzfeld ISO2 / 6H, Anschnittform B (3.5-5.5 x P), Zylinderschaft mit Vierkant, Anzahl Zähne 2-3
Leistungsklasse N
Für langspanende Werkstoffe mit einer Zugfestigkeit von Rm > 350...1000 N/mm2.
Anschnittlänge:

M2: 2.5 x P
M3...M20: 4 x P
Lochart: Durchgangsloch.
Ausführungen:
M2: N320-3LH, Schaft verstärkt, DIN 371, Anzahl Zähne:2
M3...M6: N320-4LH, Schaft verstärkt, DIN 371, Anzahl Zähne:3
M8...M20: N420-4LH, Schaft durchfallend, DIN 376, Anzahl Zähne:3
11 gefundene Artikel
Seite
1 2
FILTER
d
d

Filter löschen
P [mm]
P [mm]

Filter löschen
Norm
Norm

Filter löschen
L [mm]
L [mm]

Filter löschen
Artikel Nr
Bezeichnung
d
M2 - M20
P [mm]
0.4 - 2.5
Norm
371 - 376
L [mm]
45 - 140
a [mm]
2.1 - 12
d1 [mm]
2.8 - 16
l [mm]
8 - 36
Anschnittlänge
2.5 x P - 4 x P
l3 [mm]
- - 30
Ø [mm]
1.6 - 17.5
Z
2 - 3
Typ
N320-3LH - N420-4LH
Netto CHF
zzgl. Versand
Staffelung
Netto CHF
zzgl. Versand
Menge
11 gefundene Artikel
Seite
1 2
Loading...
zzgl.
pro