Warenkorb

Es gibt keine Treffer zu Ihrer Suche

260420

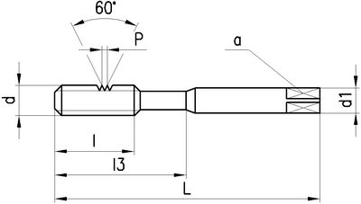
DC Gewindebohrer Metrisches ISO-Gewinde

Produkteigenschaften:
P_SwissMade_(P010) P_HSS-E P_M_ P_RH P_ISO2_6H P_B_3.5-5.5 P_Schaftform_Vierkant P_Z2-3
Anwendung:
P_neutral M_neutral K_neutral N_Nebenanwendung S_neutral H_neutral O_Nebenanwendung P_Durchgangsloch W02011N
gerade Nuten, Schälanschnitt, ausgesetzte Zähne, SwissMade, HSS-E, Metrisches ISO-Gewinde, Rechtsgewinde, Toleranzfeld ISO2 / 6H, Anschnittform B (3.5-5.5 x P), Zylinderschaft mit Vierkant, Anzahl Zähne 2-3
Leistungsklasse N
Für langspanende Werkstoffe mit einer Zugfestigkeit von Rm > 350...1000 N/mm2.
Anschnittlänge:

M2: 2.5 x P
M2.5...M16: 4 x P
Lochart: Durchgangsloch.
Ausführungen:
M2: N321-3, Schaft verstärkt, DIN 371, Anzahl Zähne:2
M2.5...M3: N321-4, Schaft verstärkt, DIN 371, Anzahl Zähne:3
M4...M16: N421-4, Schaft durchfallend, DIN 376, Anzahl Zähne:3
10 gefundene Artikel
FILTER
d
d

Filter löschen
P [mm]
P [mm]

Filter löschen
Norm
Norm

Filter löschen
L [mm]
L [mm]

Filter löschen
Artikel Nr
Bezeichnung
d
M2 - M16
P [mm]
0.4 - 2
Norm
371 - 376
L [mm]
45 - 110
a [mm]
2.1 - 9
d1 [mm]
2.8 - 12
l [mm]
8 - 30
l3 [mm]
- - 18
Ø [mm]
1.6 - 14
Z
2 - 3
Anschnittlänge
2.5 x P - 4 x P
Typ
N321-3 - N421-4
Netto CHF
zzgl. Versand
Staffelung
Netto CHF
zzgl. Versand
Menge
10 gefundene Artikel
Loading...
zzgl.
pro