Warenkorb

Es gibt keine Treffer zu Ihrer Suche

260480

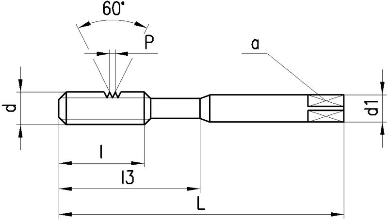
DC Gewindebohrer Metrisches ISO-Gewinde

Produkteigenschaften:
P_SwissMade_(P010) P_HSS-E P_M_ P_RH P_ISO2_6H P_C_2-3 P_Schaftform_Vierkant P_Z2-3
Anwendung:
P_neutral M_neutral K_neutral N_Nebenanwendung S_neutral H_neutral O_Nebenanwendung P_SL_1.5 W02010N
Spiralnuten 15°, SwissMade, HSS-E, Metrisches ISO-Gewinde, Rechtsgewinde, Toleranzfeld ISO2 / 6H, Anschnittform C (2-3 x P), Zylinderschaft mit Vierkant, Anzahl Zähne 2-3
Leistungsklasse N
Für kurz und mittellang spanende Werkstoffe mit einer Zugfestigkeit von Rm > 350...1000 N/mm2.
Anschnittlänge:
2.5 x PLochart: Sackloch < 1.5 x d.
Ausführung:
M2...M10: N350-3, Schaft verstärkt, DIN 371
9 gefundene Artikel
FILTER
d
d

Filter löschen
P [mm]
P [mm]

Filter löschen
Norm
Norm

Filter löschen
L [mm]
L [mm]

Filter löschen
Artikel Nr
Bezeichnung
d
M2 - M10
P [mm]
0.4 - 1.5
Norm
371
L [mm]
45 - 100
a [mm]
2.1 - 8
d1 [mm]
2.8 - 10
l [mm]
8 - 22
l3 [mm]
- - 39
Ø [mm]
1.6 - 8.5
Z
2 - 3
Anschnittlänge
2.5 x P
Typ
N350-3
Netto CHF
zzgl. Versand
Staffelung
Netto CHF
zzgl. Versand
Menge
9 gefundene Artikel
Loading...
zzgl.
pro