Warenkorb

Es gibt keine Treffer zu Ihrer Suche

260680

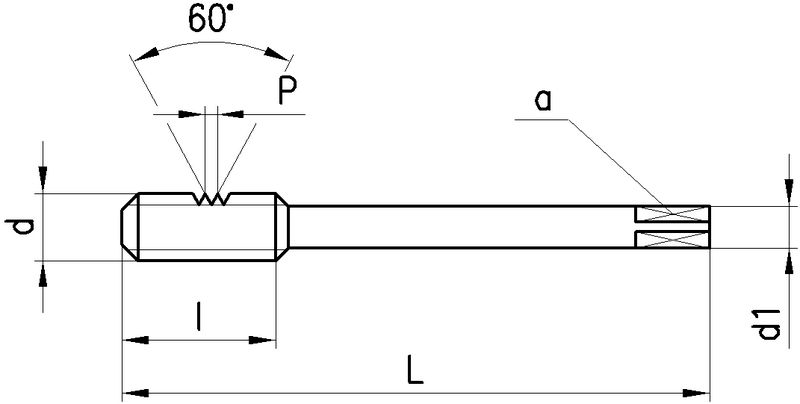
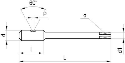
DC Gewindebohrer Metrisches ISO-Gewinde

Produkteigenschaften:
P_SwissMade_(P010) P_HSS-E P_M_ P_RH P_ISO2_6H P_C_2-3 P_Schaftform_Vierkant P_Z3-4
Anwendung:
P_neutral M_neutral K_neutral N_Nebenanwendung S_neutral H_neutral O_neutral P_SL_2.5 W02011N
Spiralnuten 40°, SwissMade, HSS-E, Metrisches ISO-Gewinde, Rechtsgewinde, Toleranzfeld ISO2 / 6H, Anschnittform C (2-3 x P), Zylinderschaft mit Vierkant, Anzahl Zähne 3-4
Leistungsklasse N
Für langspanende Werkstoffe mit einer Zugfestigkeit von Rm > 350...1000 N/mm2.
Anschnittlänge:
2.5 x PLochart: Sackloch < 2.5 x d.
Ausführungen:
M5...M24: N460-3, Schaft durchfallend, DIN 376
11 gefundene Artikel
Seite
1 2
FILTER
d
d

Filter löschen
P [mm]
P [mm]

Filter löschen
Norm
Norm

Filter löschen
L [mm]
L [mm]

Filter löschen
Artikel Nr
Bezeichnung
d
M5 - M24
P [mm]
0.8 - 3
Norm
376
L [mm]
70 - 160
a [mm]
2.7 - 14.5
d1 [mm]
3.5 - 18
l [mm]
9 - 27
Ø [mm]
4.2 - 21
Z
3 - 4
Anschnittlänge
2.5 x P
Netto CHF
zzgl. Versand
Staffelung
Netto CHF
zzgl. Versand
Menge
11 gefundene Artikel
Seite
1 2
Loading...
zzgl.
pro