Warenkorb

Es gibt keine Treffer zu Ihrer Suche

260720

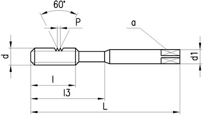
DC Gewindebohrer Metrisches ISO-Gewinde

Produkteigenschaften:
P_SwissMade_(P010) P_HSS-E P_M_ P_RH P_ISO1_4H P_C_2-3 P_Schaftform_Vierkant P_Z3
Anwendung:
P_neutral M_neutral K_neutral N_Nebenanwendung S_neutral H_neutral O_neutral P_SL_2.5 W02011N
Spiralnuten 40°, SwissMade, HSS-E, Metrisches ISO-Gewinde, Rechtsgewinde, Feintoleranz ISO1 / 4H, Anschnittform C (2-3 x P), Zylinderschaft mit Vierkant, Anzahl Zähne 3
Leistungsklasse N
Für langspanende Werkstoffe mit einer Zugfestigkeit von Rm > 350...1000 N/mm2.
Anschnittlänge:
2.5 x PLochart: Sackloch < 2.5 x d.
Ausführungen:
M3...M10: N360-3, Schaft verstärkt, DIN 371
6 gefundene Artikel
FILTER
d
d

Filter löschen
P [mm]
P [mm]

Filter löschen
Norm
Norm

Filter löschen
L [mm]
L [mm]

Filter löschen
Artikel Nr
Bezeichnung
d
M3 - M10
P [mm]
0.5 - 1.5
Norm
371
L [mm]
56 - 100
a [mm]
2.7 - 8
d1 [mm]
3.5 - 10
l [mm]
5.5 - 14
l3 [mm]
18 - 39
Ø [mm]
2.5 - 8.5
Anschnittlänge
2.5 x P
Typ
N360-3
Netto CHF
zzgl. Versand
Staffelung
Netto CHF
zzgl. Versand
Menge
6 gefundene Artikel
Loading...
zzgl.
pro