Warenkorb

Es gibt keine Treffer zu Ihrer Suche

260740

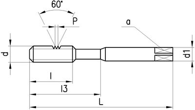
DC Gewindebohrer Metrisches ISO-Gewinde, links.

Produkteigenschaften:
P_SwissMade_(P010) P_HSS-E P_M_ P_LH P_ISO2_6H P_C_2-3 P_Schaftform_Vierkant P_Z3
Anwendung:
P_neutral M_neutral K_neutral N_Nebenanwendung S_neutral H_neutral O_neutral P_SL_2.5 W02011N
Spiralnuten 40°, SwissMade, HSS-E, Metrisches ISO-Gewinde, Linksgewinde, Toleranzfeld ISO2 / 6H, Anschnittform C (2-3 x P), Zylinderschaft mit Vierkant, Anzahl Zähne 3
Leistungsklasse N
Für langspanende Werkstoffe mit einer Zugfestigkeit von Rm > 350...1000 N/mm2.
Anschnittlänge:
2.5 x PLochart: Sackloch < 2.5 x d.
Ausführungen:
M3...M10: N360-3 LH, Schaft verstärkt, DIN 371
M12...M16: N460-3 LH, Schaft durchfallend, DIN 376
8 gefundene Artikel
FILTER
d
d

Filter löschen
P [mm]
P [mm]

Filter löschen
Norm
Norm

Filter löschen
L [mm]
L [mm]

Filter löschen
Artikel Nr
Bezeichnung
d
M3 - M16
P [mm]
0.5 - 2
Norm
371 - 376
L [mm]
56 - 110
a [mm]
2.7 - 9
d1 [mm]
3.5 - 12
l [mm]
5.5 - 18
l3 [mm]
18 - -
Ø [mm]
2.5 - 14
Anschnittlänge
2.5 x P
Typ
N360-3 LH - N460-3 LH
Netto CHF
zzgl. Versand
Staffelung
Netto CHF
zzgl. Versand
Menge
8 gefundene Artikel
Loading...
zzgl.
pro