Warenkorb

Es gibt keine Treffer zu Ihrer Suche

260750

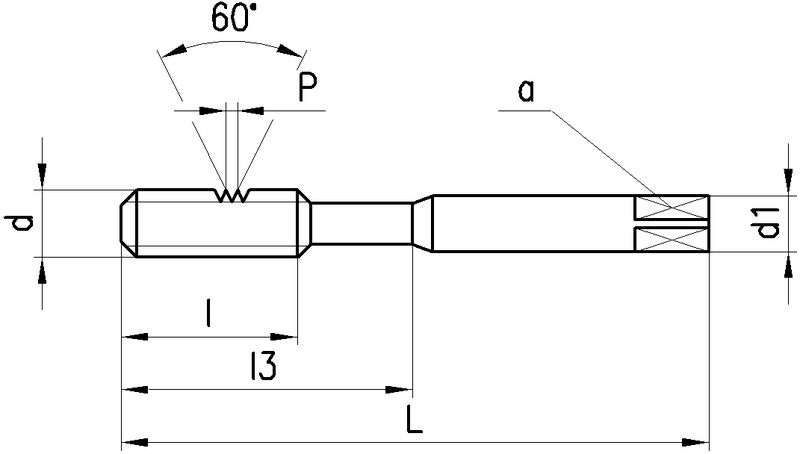
DC Gewindebohrer Metrisches Gewinde, links.

Produkteigenschaften:
P_SwissMade_(P010) P_HSS-E P_VAP P_M_ P_LH P_ISO2_6H P_C_2-3 P_Schaftform_Vierkant P_Z3-4
Anwendung:
P_Hauptanwendung M_neutral K_neutral N_neutral S_neutral H_neutral O_neutral P_SL_2.5 W02011N
Spiralnuten 40°, SwissMade, HSS-E, vaporisiert, Metrisches ISO-Gewinde, Linksgewinde, Toleranzfeld ISO2 / 6H, Anschnittform C (2-3 x P), Zylinderschaft mit Vierkant, Anzahl Zähne 3-4
Leistungsklasse N
Für langspanende Werkstoffe mit einer Zugfestigkeit von Rm > 350...1000 N/mm2.
Anschnittlänge:
2.5 x PLochart: Sackloch < 2.5 x d.
Ausführungen:
M3...M10: N360V-3 LH, Schaft verstärkt, DIN 371
M12...M20: N460V-3 LH, Schaft durchfallend, DIN 376
9 gefundene Artikel
FILTER
d
d

Filter löschen
P [mm]
P [mm]

Filter löschen
Norm
Norm

Filter löschen
L [mm]
L [mm]

Filter löschen
Artikel Nr
Bezeichnung
d
M3 - M20
P [mm]
0.5 - 2.5
Norm
371 - 376
L [mm]
56 - 140
a [mm]
2.7 - 12
d1 [mm]
3.5 - 16
l [mm]
5.5 - 24
l3 [mm]
18 - -
Ø [mm]
2.5 - 17.5
Z
3 - 4
Anschnittlänge
2.5 x P
Typ
N360V-3 LH - N460V-3 LH
Netto CHF
zzgl. Versand
Staffelung
Netto CHF
zzgl. Versand
Menge
9 gefundene Artikel
Loading...
zzgl.
pro