Warenkorb

Es gibt keine Treffer zu Ihrer Suche

260920

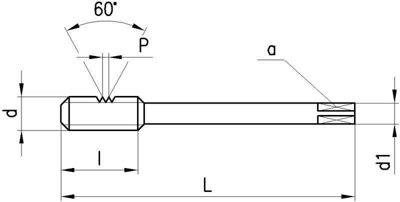
DC Gewindebohrer Metrisches ISO-Gewinde

Produkteigenschaften:
P_SwissMade_(P010) P_HSS-E P_M_ P_RH P_ISO2_6H P_B_3.5-5.5 P_Schaftform_Vierkant P_Z3
Anwendung:
P_neutral M_neutral K_neutral N_Nebenanwendung S_neutral H_neutral O_neutral P_Durchgangsloch W02011N
extra lange Ausführung, gerade Nuten, Schälanschnitt,
Problemlöser für tiefliegende Gewinde. Keine Verlängerungen notwendig., SwissMade, HSS-E, Metrisches ISO-Gewinde, Rechtsgewinde, Toleranzfeld ISO2 / 6H, Anschnittform B (3.5-5.5 x P), Zylinderschaft mit Vierkant, Anzahl Zähne 3
Leistungsklasse N
Für langspanende Werkstoffe mit einer Zugfestigkeit von Rm > 350...1000 N/mm2.
Anschnittlänge:
4 x PLochart: Durchgangsloch.
Ausführungen:
M4...M20: N620-4, Schaft durchfallend, DIN Werksnorm
8 gefundene Artikel
FILTER
d
d

Filter löschen
P [mm]
P [mm]

Filter löschen
l [mm]
l [mm]

Filter löschen
L [mm]
L [mm]

Filter löschen
Artikel Nr
Bezeichnung
d
M4 - M20
P [mm]
0.7 - 2.5
l [mm]
14 - 36
L [mm]
112 - 224
a [mm]
2.1 - 12
d1 [mm]
2.8 - 16
Ø [mm]
3.3 - 17.5
Anschnittlänge
4 x P
Typ
N620-4
Netto CHF
zzgl. Versand
Staffelung
Netto CHF
zzgl. Versand
Menge
8 gefundene Artikel
Loading...
zzgl.
pro