Warenkorb

Es gibt keine Treffer zu Ihrer Suche

260940

DC Gewindebohrer Metrisches ISO-Gewinde

Produkteigenschaften:
P_SwissMade_(P010) P_HSS-E P_VAP P_M_ P_RH P_ISO2_6H P_B_3.5-5.5 P_Schaftform_Vierkant P_Z3
Anwendung:
P_Hauptanwendung M_neutral K_neutral N_neutral S_neutral H_neutral O_neutral P_Durchgangsloch W02011N
extra lange Ausführung, gerade Nuten, Schälanschnitt,
Problemlöser für tiefliegende Gewinde. Keine Verlängerungen notwendig., SwissMade, HSS-E, vaporisiert, Metrisches ISO-Gewinde, Rechtsgewinde, Toleranzfeld ISO2 / 6H, Anschnittform B (3.5-5.5 x P), Zylinderschaft mit Vierkant, Anzahl Zähne 3
Leistungsklasse N
Für langspanende Werkstoffe mit einer Zugfestigkeit von Rm > 350...1000 N/mm2.
Anschnittlänge:
4 x PLochart: Durchgangsloch.
Ausführungen:
M3...M6: N520V-4, Schaft verstärkt, DIN Werksnorm
4 gefundene Artikel
FILTER
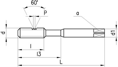
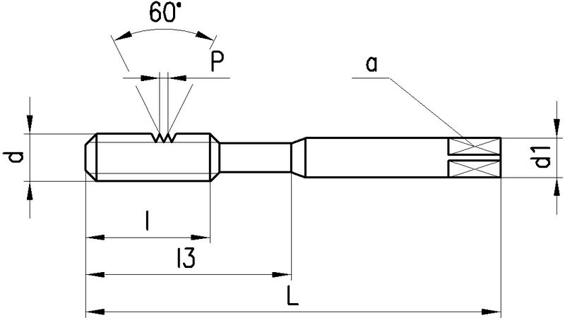
d
d

Filter löschen
P [mm]
P [mm]

Filter löschen
l [mm]
l [mm]

Filter löschen
L [mm]
L [mm]

Filter löschen
Artikel Nr
Bezeichnung
d
M3 - M6
P [mm]
0.5 - 1
l [mm]
12 - 17
L [mm]
112 - 125
a [mm]
2.7 - 4.9
d1 [mm]
3.5 - 6
l3 [mm]
18 - 30
Ø [mm]
2.5 - 5
Anschnittlänge
4 x P
Typ
N520V-4
Netto CHF
zzgl. Versand
Staffelung
Netto CHF
zzgl. Versand
Menge
4 gefundene Artikel
Loading...
zzgl.
pro