Warenkorb

Es gibt keine Treffer zu Ihrer Suche

261080

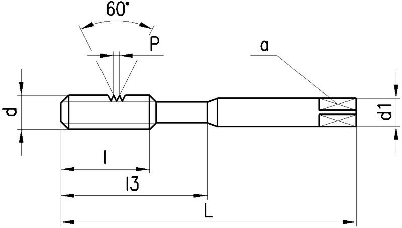
DC Gewindebohrer Metrisches ISO-Gewinde

Produkteigenschaften:
P_SwissMade_(P010) P_HSS-E_PM P_M_ P_RH P_ISO2_6H P_B_3.5-5.5 P_Schaftform_Vierkant P_Z2-3
Anwendung:
P_neutral M_neutral K_neutral N_Hauptanwendung S_neutral H_neutral O_Nebenanwendung P_Durchgangsloch W02010W
gerade Nuten, Schälanschnitt, SwissMade, HSS-E_PM, Metrisches ISO-Gewinde, Rechtsgewinde, Toleranzfeld ISO2 / 6H, Anschnittform B (3.5-5.5 x P), Zylinderschaft mit Vierkant, Anzahl Zähne 2-3
Leistungsklasse W
Für weiche Werkstoffe mit einer Festigkeit > Rm 500 N/mm2 wie Aluminium, Magnesiumlegierungen, zum Teil Buntmetalle oder Thermoplaste.
Anschnittlänge:

M2: 2.5 x P
M2.5...M16: 4 x P
Lochart: Durchgangsloch.
Ausführungen:
M2: W320-3, Schaft verstärkt, DIN 371
M2.5...M6: W320-4, Schaft verstärkt, DIN 371
M8...M16: W420-4, Schaft durchfallend, DIN 376
10 gefundene Artikel
FILTER
d
d

Filter löschen
P [mm]
P [mm]

Filter löschen
Norm
Norm

Filter löschen
L [mm]
L [mm]

Filter löschen
Artikel Nr
Bezeichnung
d
M2 - M16
P [mm]
0.4 - 2
Norm
371 - 376
L [mm]
45 - 110
a [mm]
2.1 - 9
d1 [mm]
2.8 - 12
l [mm]
8 - 30
l3 [mm]
- - 30
Ø [mm]
1.6 - 14
Z
2 - 3
Anschnittlänge
2.5 x P - 4 x P
Typ
W320-3 - W420-4
Netto CHF
zzgl. Versand
Staffelung
Netto CHF
zzgl. Versand
Menge
10 gefundene Artikel
Loading...
zzgl.
pro