Warenkorb

Es gibt keine Treffer zu Ihrer Suche

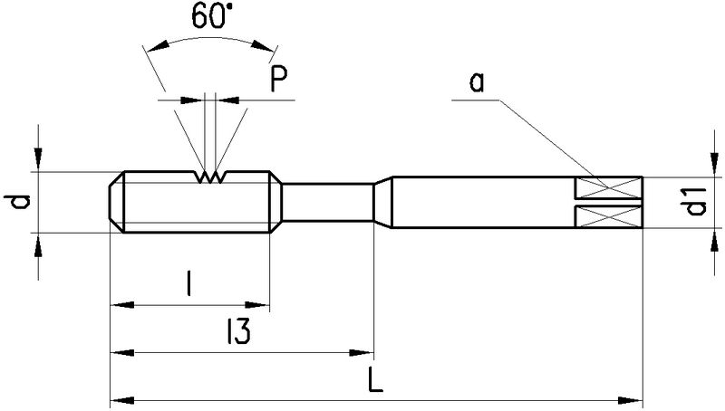
261120

DC Gewindebohrer Metrisches ISO-Gewinde

Produkteigenschaften:
P_SwissMade_(P010) P_HSS-E_PM P_VAP P_M_ P_RH P_ISO2_6H P_B_3.5-5.5 P_Schaftform_Vierkant P_Z2-4
Anwendung:
P_neutral M_Hauptanwendung K_neutral N_neutral S_Nebenanwendung H_neutral O_neutral P_Durchgangsloch W02010Z
gerade Nuten, Schälanschnitt, SwissMade, HSS-E_PM, vaporisiert, Metrisches ISO-Gewinde, Rechtsgewinde, Toleranzfeld ISO2 / 6H, Anschnittform B (3.5-5.5 x P), Zylinderschaft mit Vierkant, Anzahl Zähne 2-4
Leistungsklasse Z
Für zähe Werkstoffe wie rost-, säure- und hitzebeständige Stähle.
Anschnittlänge:

M1.6...M2: 2.5 x P
M2.5...M30: 4 x P
Lochart: Durchgangsloch.
Ausführungen:
M1.6...M2: Z320V-3, Schaft verstärkt, DIN 371
M2.5...M10: Z320V-4, Schaft verstärkt, DIN 371
M12...M30: Z420V-4, Schaft durchfallend, DIN 376
17 gefundene Artikel
Seite
1 2
FILTER
d
d

Filter löschen
P [mm]
P [mm]

Filter löschen
Norm
Norm

Filter löschen
L [mm]
L [mm]

Filter löschen
Artikel Nr
Bezeichnung
d
M1.6 - M30
P [mm]
0.35 - 3.5
Norm
371 - 376
L [mm]
40 - 180
a [mm]
2.1 - 18
d1 [mm]
2.5 - 22
l [mm]
8 - 45
l3 [mm]
- - 39
Ø [mm]
1.25 - 26.5
Z
2 - 4
Anschnittlänge
2.5 x P - 4 x P
Typ
Z320V-3 - Z420V-4
Netto CHF
zzgl. Versand
Staffelung
Netto CHF
zzgl. Versand
Menge
17 gefundene Artikel
Seite
1 2
Loading...
zzgl.
pro