Warenkorb

Es gibt keine Treffer zu Ihrer Suche

261210

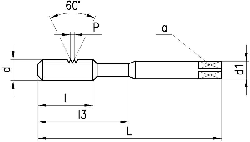
DC Gewindebohrer Metrisches ISO-Gewinde

Produkteigenschaften:
P_SwissMade_(P010) P_HSS-E_PM P_VS P_M_ P_RH P_6HX P_C_2-3 P_Schaftform_Vierkant P_Z3-4
Anwendung:
P_Nebenanwendung M_Hauptanwendung K_neutral N_neutral S_Nebenanwendung H_neutral O_neutral P_SL_3 W02010Z
Spiralnuten 45°, SwissMade, HSS-E_PM, VS-Verschleissschutzschicht, Metrisches ISO-Gewinde, Rechtsgewinde, Toleranzfeld 6HX, Anschnittform C (2-3 x P), Zylinderschaft mit Vierkant, Anzahl Zähne 3-4
Leistungsklasse Z
Für zähe Werkstoffe wie rost-, säure- und hitzebeständige Stähle.
Anschnittlänge:
2.5 x P
Lochart: Sackloch < 3 x d.
Ausführungen:
M3...M10: Z370VS-3, Schaft verstärkt, DIN 371, Anzahl Zähne:3
M12...M20: Z470VS-3, Schaft durchfallend, DIN 376, Anzahl Zähne:4
10 gefundene Artikel
FILTER
d
d

Filter löschen
P [mm]
P [mm]

Filter löschen
Norm
Norm

Filter löschen
L [mm]
L [mm]

Filter löschen
Artikel Nr
Bezeichnung
d
M3 - M20
P [mm]
0.5 - 2.5
Norm
371 - 376
L [mm]
56 - 140
a [mm]
2.7 - 12
d1 [mm]
3.5 - 16
l [mm]
5.5 - 24
l3 [mm]
18 - -
Ø [mm]
2.5 - 17.5
Z
3 - 4
Anschnittlänge
2.5 x P
Typ
Z370VS-3 - Z470VS-3
Netto CHF
zzgl. Versand
Staffelung
Netto CHF
zzgl. Versand
Menge
10 gefundene Artikel
Loading...
zzgl.
pro