Warenkorb

Es gibt keine Treffer zu Ihrer Suche

261240

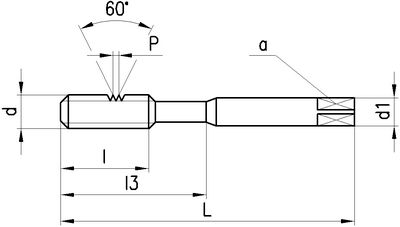
DC Gewindebohrer Metrisches ISO-Gewinde

Produkteigenschaften:
P_SwissMade_(P010) P_HSS-E_PM P_VS P_M_ P_RH P_6HX P_C_2-3 P_Schaftform_Vierkant P_Z3-4
Anwendung:
P_Nebenanwendung M_Hauptanwendung K_neutral N_neutral S_Nebenanwendung H_neutral O_neutral P_SL_2 W02010S
Spiralnuten 35°, SwissMade, HSS-E_PM, VS-Verschleissschutzschicht, Metrisches ISO-Gewinde, Rechtsgewinde, Toleranzfeld 6HX, Anschnittform C (2-3 x P), Zylinderschaft mit Vierkant, Anzahl Zähne 3-4
Leistungsklasse S
Für sonderlegierte Werkstoffe, legierte und hitzebeständige Stähle, rostfreie Stähle ferritisch, martensitisch, Nickellegierungen mit Zugfestigkeiten von 850 bis 1150 N/mm2, sowie diverse Feinkornstähle.
Anschnittlänge:
2.5 x P
Lochart: Sackloch < 2 x d.
Ausführungen:
M3...M10: S360VS-3, Schaft verstärkt, DIN 371, Anzahl Zähne:3
M12...M24: S460VS-3, Schaft durchfallend, DIN 376, Anzahl Zähne:4
10 gefundene Artikel
FILTER
d
d

Filter löschen
P [mm]
P [mm]

Filter löschen
Norm
Norm

Filter löschen
L [mm]
L [mm]

Filter löschen
Artikel Nr
Bezeichnung
d
M3 - M24
P [mm]
0.5 - 3
Norm
371 - 376
L [mm]
56 - 160
a [mm]
2.7 - 14.5
d1 [mm]
3.5 - 18
l [mm]
5.5 - 27
l3 [mm]
18 - -
Ø [mm]
2.5 - 21
Z
3 - 4
Anschnittlänge
2.5 x P
Typ
S360VS-3 - S460VS-3
Staffelung
Netto CHF
zzgl. Versand
Menge
261240.0100
DC Gewindebohrer S360VS-3 HSSE-PM, metr, VS, Tol. 6HX, DIN 371
M 3
d
P [mm]
Norm
L [mm]
d
M3
P [mm]
0.5
Norm
371
L [mm]
56
Staffelung, Netto CHF zzgl. Versand
Staffelung, Netto CHF zzgl. Versand
product.table_item.graduation, product.table_item.pricing
Artikel Details
261240.0200
DC Gewindebohrer S360VS-3 HSSE-PM, metr, VS, Tol. 6HX, DIN 371
M 4
d
P [mm]
Norm
L [mm]
d
M4
P [mm]
0.7
Norm
371
L [mm]
63
Staffelung, Netto CHF zzgl. Versand
Staffelung, Netto CHF zzgl. Versand
product.table_item.graduation, product.table_item.pricing
Artikel Details
261240.0300
DC Gewindebohrer S360VS-3 HSSE-PM, metr, VS, Tol. 6HX, DIN 371
M 5
d
P [mm]
Norm
L [mm]
d
M5
P [mm]
0.8
Norm
371
L [mm]
70
Staffelung, Netto CHF zzgl. Versand
Staffelung, Netto CHF zzgl. Versand
product.table_item.graduation, product.table_item.pricing
Artikel Details
261240.0400
DC Gewindebohrer S360VS-3 HSSE-PM, metr, VS, Tol. 6HX, DIN 371
M 6
d
P [mm]
Norm
L [mm]
d
M6
P [mm]
1
Norm
371
L [mm]
80
Staffelung, Netto CHF zzgl. Versand
Staffelung, Netto CHF zzgl. Versand
product.table_item.graduation, product.table_item.pricing
Artikel Details
261240.0500
DC Gewindebohrer S360VS-3 HSSE-PM, metr, VS, Tol. 6HX, DIN 371
M 8
d
P [mm]
Norm
L [mm]
d
M8
P [mm]
1.25
Norm
371
L [mm]
90
Staffelung, Netto CHF zzgl. Versand
Staffelung, Netto CHF zzgl. Versand
product.table_item.graduation, product.table_item.pricing
Artikel Details
261240.0600
DC Gewindebohrer S360VS-3 HSSE-PM, metr, VS, Tol. 6HX, DIN 371
M 10
d
P [mm]
Norm
L [mm]
d
M10
P [mm]
1.5
Norm
371
L [mm]
100
Staffelung, Netto CHF zzgl. Versand
Staffelung, Netto CHF zzgl. Versand
product.table_item.graduation, product.table_item.pricing
Artikel Details
261240.0700
DC Gewindebohrer S460VS-3 HSSE-PM, metr, VS, Tol. 6HX, DIN 376
M 12
d
P [mm]
Norm
L [mm]
d
M12
P [mm]
1.75
Norm
376
L [mm]
110
Staffelung, Netto CHF zzgl. Versand
Staffelung, Netto CHF zzgl. Versand
product.table_item.graduation, product.table_item.pricing
Artikel Details
261240.0800
DC Gewindebohrer S460VS-3 HSSE-PM, metr, VS, Tol. 6HX, DIN 376
M 16
d
P [mm]
Norm
L [mm]
d
M16
P [mm]
2
Norm
376
L [mm]
110
Staffelung, Netto CHF zzgl. Versand
Staffelung, Netto CHF zzgl. Versand
product.table_item.graduation, product.table_item.pricing
Artikel Details
261240.0900
DC Gewindebohrer S460VS-3 HSSE-PM, metr, VS, Tol. 6HX, DIN 376
M 20
d
P [mm]
Norm
L [mm]
d
M20
P [mm]
2.5
Norm
376
L [mm]
140
Staffelung, Netto CHF zzgl. Versand
Staffelung, Netto CHF zzgl. Versand
product.table_item.graduation, product.table_item.pricing
Artikel Details
261240.1000
DC Gewindebohrer S460VS-3 HSSE-PM, metr, VS, Tol. 6HX, DIN 376
M 24
d
P [mm]
Norm
L [mm]
d
M24
P [mm]
3
Norm
376
L [mm]
160
Staffelung, Netto CHF zzgl. Versand
Staffelung, Netto CHF zzgl. Versand
product.table_item.graduation, product.table_item.pricing
Artikel Details
10 gefundene Artikel
Loading...
zzgl.
pro