Warenkorb

Es gibt keine Treffer zu Ihrer Suche

261250

DC Gewindebohrer Metrisches ISO-Gewinde

Produkteigenschaften:
P_SwissMade_(P010) P_HSS-E_PM P_M_ P_RH P_6HX P_C_2-3 P_Schaftform_Vierkant P_Z3-4
Anwendung:
P_neutral M_neutral K_neutral N_neutral S_Hauptanwendung H_neutral O_neutral P_DLSL_1.5 W02010SA
AERO, Spiralnuten 10°, Schälanschnitt, SwissMade, HSS-E_PM, Metrisches ISO-Gewinde, Rechtsgewinde, Toleranzfeld 6HX, Anschnittform C (2-3 x P), Zylinderschaft mit Vierkant, Anzahl Zähne 3-4
Leistungsklasse SA
Für sonderlegierte Werkstoffe, Nickellegierungen mit Zugfestigkeiten bis 1650 N/mm2.
Anschnittlänge:
2.5 x P
Lochart: Durchgangsloch und Sackloch < 1.5 x d.
Ausführungen:
M4...M12: SA390-3, Schaft verstärkt, DIN 371
6 gefundene Artikel
FILTER
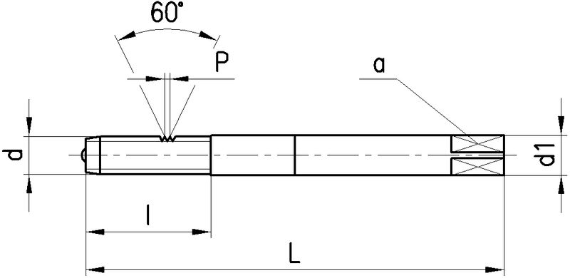
d
d

Filter löschen
P [mm]
P [mm]

Filter löschen
Norm
Norm

Filter löschen
L [mm]
L [mm]

Filter löschen
Artikel Nr
Bezeichnung
d
M4 - M12
P [mm]
0.7 - 1.75
Norm
371
L [mm]
63 - 110
a [mm]
3.4 - 9
d1 [mm]
4.5 - 12
l [mm]
14 - 35
Ø [mm]
3.3 - 10.2
Z
3 - 4
Anschnittlänge
2.5 x P
Typ
SA390-3
Netto CHF
zzgl. Versand
Staffelung
Netto CHF
zzgl. Versand
Menge
6 gefundene Artikel
Loading...
zzgl.
pro