Warenkorb

Es gibt keine Treffer zu Ihrer Suche

261300

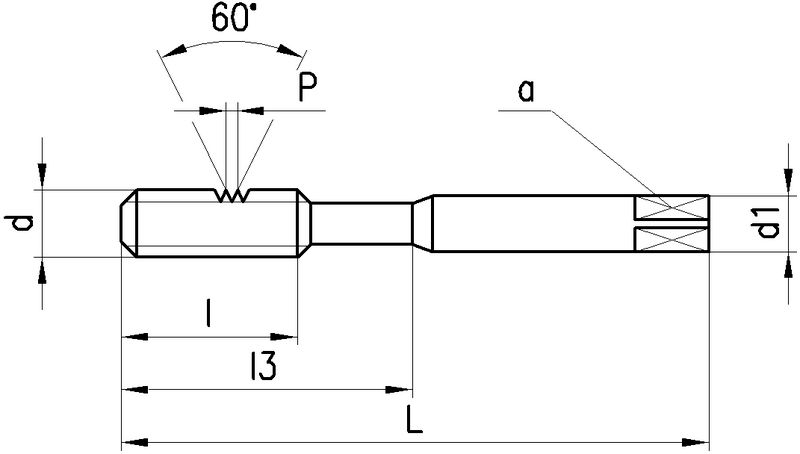
DC Gewindebohrer Metrisches ISO-Gewinde

Produkteigenschaften:
P_SwissMade_(P010) P_HSS-E_PM P_M_ P_RH P_ISO2_6H P_C_2-3 P_Schaftform_Vierkant P_Z2-4
Anwendung:
P_Hauptanwendung M_neutral K_neutral N_neutral S_neutral H_neutral O_Nebenanwendung P_SL_1.5 W02010H
Spiralnuten 25°, Schälanschnitt, bis 1.5 x D, SwissMade, HSS-E_PM, Metrisches ISO-Gewinde, Rechtsgewinde, Toleranzfeld ISO2 / 6H, Anschnittform C (2-3 x P), Zylinderschaft mit Vierkant, Anzahl Zähne 2-4
Leistungsklasse H
Für hochfeste Werkstoffe mit einer Festigkeit von <900...1200 N/mm2, Vergütungsstähle, Werkzeugstähle legiert, Einsatzstähle, zum Teil Buntmetalle in Sonderqualität.
Anschnittlänge:
2.5 x P
Lochart: Sackloch < 1.5 x d.
Ausführungen:
M2: H350-3, Schaft verstärkt, DIN 371, Anzahl Zähne:2
M2.5...M10: H350-3, Schaft verstärkt, DIN 371, Anzahl Zähne:3
M12...M30: H450-3, Schaft durchfallend, DIN 376, Anzahl Zähne:4
19 gefundene Artikel
Seite
1 2
FILTER
d
d

Filter löschen
P [mm]
P [mm]

Filter löschen
Norm
Norm

Filter löschen
L [mm]
L [mm]

Filter löschen
Artikel Nr
Bezeichnung
d
M2 - M30
P [mm]
0.4 - 3.5
Norm
371 - 376
L [mm]
45 - 180
a [mm]
2.1 - 18
d1 [mm]
2.8 - 22
l [mm]
7 - 30
l3 [mm]
- - 39
Ø [mm]
1.6 - 26.5
Z
2 - 4
Anschnittlänge
2.5 x P
Typ
H350-3 - H450-3
Staffelung
Netto CHF
zzgl. Versand
Menge
261300.0100
DC Gewindebohrer H350-3 HSSE-PM, metr., Tol. ISO2 6H, DIN 371
M 2
d
P [mm]
Norm
L [mm]
d
M2
P [mm]
0.4
Norm
371
L [mm]
45
Staffelung, Netto CHF zzgl. Versand
Staffelung, Netto CHF zzgl. Versand
product.table_item.graduation, product.table_item.pricing
Artikel Details
261300.0200
DC Gewindebohrer H350-3 HSSE-PM, metr., Tol. ISO2 6H, DIN 371
M 2.5
d
P [mm]
Norm
L [mm]
d
M2.5
P [mm]
0.45
Norm
371
L [mm]
50
Staffelung, Netto CHF zzgl. Versand
Staffelung, Netto CHF zzgl. Versand
product.table_item.graduation, product.table_item.pricing
Artikel Details
261300.0400
DC Gewindebohrer H350-3 HSSE-PM, metr., Tol. ISO2 6H, DIN 371
M 3
d
P [mm]
Norm
L [mm]
d
M3
P [mm]
0.5
Norm
371
L [mm]
56
Staffelung, Netto CHF zzgl. Versand
Staffelung, Netto CHF zzgl. Versand
product.table_item.graduation, product.table_item.pricing
Artikel Details
261300.0500
DC Gewindebohrer H350-3 HSSE-PM, metr., Tol. ISO2 6H, DIN 371
M 3.5
d
P [mm]
Norm
L [mm]
d
M3.5
P [mm]
0.6
Norm
371
L [mm]
56
Staffelung, Netto CHF zzgl. Versand
Staffelung, Netto CHF zzgl. Versand
product.table_item.graduation, product.table_item.pricing
Artikel Details
261300.0600
DC Gewindebohrer H350-3 HSSE-PM, metr., Tol. ISO2 6H, DIN 371
M 4
d
P [mm]
Norm
L [mm]
d
M4
P [mm]
0.7
Norm
371
L [mm]
63
Staffelung, Netto CHF zzgl. Versand
Staffelung, Netto CHF zzgl. Versand
product.table_item.graduation, product.table_item.pricing
Artikel Details
261300.0700
DC Gewindebohrer H350-3 HSSE-PM, metr., Tol. ISO2 6H, DIN 371
M 4.5
d
P [mm]
Norm
L [mm]
d
M4.5
P [mm]
0.75
Norm
371
L [mm]
70
Staffelung, Netto CHF zzgl. Versand
Staffelung, Netto CHF zzgl. Versand
product.table_item.graduation, product.table_item.pricing
Artikel Details
261300.0800
DC Gewindebohrer H350-3 HSSE-PM, metr., Tol. ISO2 6H, DIN 371
M 5
d
P [mm]
Norm
L [mm]
d
M5
P [mm]
0.8
Norm
371
L [mm]
70
Staffelung, Netto CHF zzgl. Versand
Staffelung, Netto CHF zzgl. Versand
product.table_item.graduation, product.table_item.pricing
Artikel Details
261300.0900
DC Gewindebohrer H350-3 HSSE-PM, metr., Tol. ISO2 6H, DIN 371
M 6
d
P [mm]
Norm
L [mm]
d
M6
P [mm]
1
Norm
371
L [mm]
80
Staffelung, Netto CHF zzgl. Versand
Staffelung, Netto CHF zzgl. Versand
product.table_item.graduation, product.table_item.pricing
Artikel Details
261300.1000
DC Gewindebohrer H350-3 HSSE-PM, metr., Tol. ISO2 6H, DIN 371
M 8
d
P [mm]
Norm
L [mm]
d
M8
P [mm]
1.25
Norm
371
L [mm]
90
Staffelung, Netto CHF zzgl. Versand
Staffelung, Netto CHF zzgl. Versand
product.table_item.graduation, product.table_item.pricing
Artikel Details
261300.1100
DC Gewindebohrer H350-3 HSSE-PM, metr., Tol. ISO2 6H, DIN 371
M10
d
P [mm]
Norm
L [mm]
d
M10
P [mm]
1.5
Norm
371
L [mm]
100
Staffelung, Netto CHF zzgl. Versand
Staffelung, Netto CHF zzgl. Versand
product.table_item.graduation, product.table_item.pricing
Artikel Details
19 gefundene Artikel
Seite
1 2
Loading...
zzgl.
pro