Warenkorb

Es gibt keine Treffer zu Ihrer Suche

261445

DC Gewindebohrer Metrisches ISO-Gewinde

Produkteigenschaften:
P_SwissMade_(P010) P_HSS-E_PM P_VS P_M_ P_RH P_4HX P_C_2-3 P_Schaftform_Vierkant P_Z3
Anwendung:
P_neutral M_neutral K_neutral N_neutral S_Hauptanwendung H_neutral O_neutral P_DLSL_2 W02010TL
AERO, Spiralnuten 15°, ausgesetzte Zähne, SwissMade, HSS-E_PM, VS-Verschleissschutzschicht, Metrisches ISO-Gewinde, Rechtsgewinde, Toleranzfeld 4HX, Anschnittform C (2-3 x P), Zylinderschaft mit Vierkant, Anzahl Zähne 3
Leistungsklasse TL
Für Titanlegierungen.
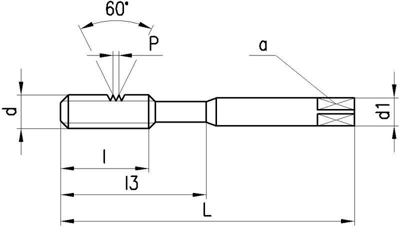
Anschnittlänge:
2.5 x P
Lochart: Durchgangsloch und Sackloch < 2 x d.
Ausführungen:
M3...M10: TL351VS-3, Schaft verstärkt, DIN 371
6 gefundene Artikel
FILTER
d
d

Filter löschen
P [mm]
P [mm]

Filter löschen
Norm
Norm

Filter löschen
L [mm]
L [mm]

Filter löschen
Artikel Nr
Bezeichnung
d
M3 - M10
P [mm]
0.5 - 1.5
Norm
371
L [mm]
56 - 100
a [mm]
2.7 - 8
d1 [mm]
3.5 - 10
l [mm]
12 - 20
l3 [mm]
- - 33
Ø [mm]
2.5 - 8.5
Z
3
Anschnittlänge
2.5 x P
Typ
TL351VS-3
Netto CHF
zzgl. Versand
Staffelung
Netto CHF
zzgl. Versand
Menge
6 gefundene Artikel
Loading...
zzgl.
pro