Warenkorb

Es gibt keine Treffer zu Ihrer Suche

261870

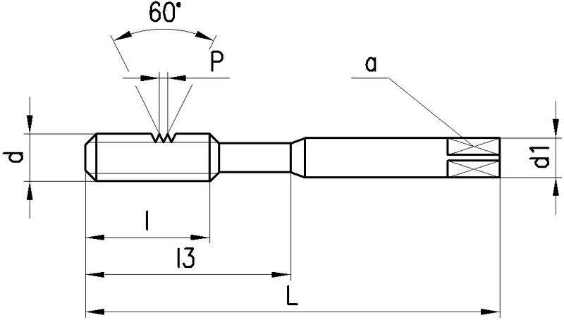
DC Gewindebohrer Metrisches ISO-Gewinde

Produkteigenschaften:
P_SwissMade_(P010) P_HSS P_M_ P_RH P_ISO2_6H P_C_2-3 P_Schaftform_Vierkant P_Z3-4
Anwendung:
P_Nebenanwendung M_neutral K_Nebenanwendung N_Nebenanwendung S_neutral H_neutral O_Nebenanwendung P_DLSL_1.5 W02012N
Fertigschneider Nr. 3, kann auch als Einzelschneider verwendet werden, bis 1.5 x D, SwissMade, HSS, Metrisches ISO-Gewinde, Rechtsgewinde, Toleranzfeld ISO2 / 6H, Anschnittform C (2-3 x P), Zylinderschaft mit Vierkant, Anzahl Zähne 3-4
Fertigschneider
Leistungsklasse N
Für normale Werkstoffe.
Anschnittlänge:
2 x P
Lochart: Durchgangsloch und Sackloch < 1.5 x d.
Ausführungen:
M1...M1.4: N1110-3, Schaft verstärkt, ISO ~529, Toleranzfeld ISO1 / 4H
M1.6...M10: N1110-3, Schaft verstärkt, ISO ~529, Toleranzfeld ISO2 / 6H
M12...M30: N1210-3, Schaft durchfallend, ISO 529, Toleranzfeld ISO2 / 6H
Ist Bestandteil von:
261880 DC Satz Gewindebohrer Metrisches ISO Gewinde
21 gefundene Artikel
Seite
1 2 3
FILTER
d
d

Filter löschen
P [mm]
P [mm]

Filter löschen
L [mm]
L [mm]

Filter löschen
l [mm]
l [mm]

Filter löschen
Artikel Nr
Bezeichnung
d
M1 - M30
P [mm]
0.25 - 3.5
L [mm]
40 - 138
l [mm]
5.5 - 48
a [mm]
2.1 - 16
d1 [mm]
2.5 - 20
l3 [mm]
- - 39
Ø [mm]
0.75 - 26.5
Z
3 - 4
Anschnittlänge
2 x P
Typ
N1110-3 - N1210-3
Netto CHF
zzgl. Versand
Staffelung
Netto CHF
zzgl. Versand
Menge
21 gefundene Artikel
Seite
1 2 3
Loading...
zzgl.
pro