Warenkorb

Es gibt keine Treffer zu Ihrer Suche

262160

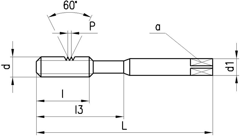
DC Gewindebohrer Metrisches ISO-Feingewinde

Produkteigenschaften:
P_SwissMade_(P010) P_HSS-E P_MF P_RH P_ISO2_6H P_C_2-3 P_Schaftform_Vierkant P_Z3-5
Anwendung:
P_neutral M_neutral K_neutral N_Nebenanwendung S_neutral H_neutral O_neutral P_SL_2.5 W02011N
Spiralnuten 40°, SwissMade, HSS-E, Metrisches ISO-Feingewinde, Rechtsgewinde, Toleranzfeld ISO2 / 6H, Anschnittform C (2-3 x P), Zylinderschaft mit Vierkant, Anzahl Zähne 3-5
Leistungsklasse N
Für langspanende Werkstoffe mit einer Zugfestigkeit von Rm > 350...1000 N/mm2.
Anschnittlänge:
2.5 x P
Lochart: Sackloch < 2.5 x d.
Ausführungen:
MF4...MF10: N360-3, Schaft verstärkt, DIN 371
MF12...MF36: N460-3, Schaft durchfallend, DIN 374
39 gefundene Artikel
Seite
1 2 3 4
FILTER
d
d

Filter löschen
P [mm]
P [mm]

Filter löschen
Norm
Norm

Filter löschen
L [mm]
L [mm]

Filter löschen
Artikel Nr
Bezeichnung
d
MF4 - MF36
P [mm]
0.5 - 2
Norm
371 - 374
L [mm]
63 - 170
a [mm]
3.4 - 22
d1 [mm]
4.5 - 28
l [mm]
7.5 - 26
l3 [mm]
21 - -
Ø [mm]
3.5 - 34.5
Z
3 - 5
x
x
Anschnittlänge
2.5 x P
Typ
N360-3 - N460-3
Netto CHF
zzgl. Versand
Staffelung
Netto CHF
zzgl. Versand
Menge
39 gefundene Artikel
Seite
1 2 3 4
Loading...
zzgl.
pro