Warenkorb

Es gibt keine Treffer zu Ihrer Suche

262200

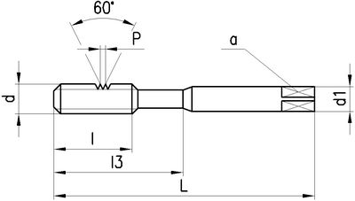
DC Gewindebohrer Metrisches ISO-Feingewinde

Produkteigenschaften:
P_SwissMade_(P010) P_HSS-E P_TiN P_MF P_RH P_ISO2_6H P_C_2-3 P_Schaftform_Vierkant P_Z3
Anwendung:
P_Hauptanwendung M_neutral K_Nebenanwendung N_neutral S_neutral H_neutral O_neutral P_SL_2.5 W02010N
Spiralnuten 40°, SwissMade, HSS-E, TiN-Beschichtung, Metrisches ISO-Feingewinde, Rechtsgewinde, Toleranzfeld ISO2 / 6H, Anschnittform C (2-3 x P), Zylinderschaft mit Vierkant, Anzahl Zähne 3
Leistungsklasse N
Für kurz und mittellang spanende Werkstoffe mit einer Zugfestigkeit von Rm > 350...1000 N/mm2.
Anschnittlänge:
2.5 x P
Lochart: Sackloch < 2.5 x d.
Ausführungen:
MF6...MF10: N360TN-3, Schaft verstärkt, DIN 371
MF12...MF16: N460TN-3, Schaft durchfallend, DIN 374
7 gefundene Artikel
FILTER
d
d

Filter löschen
P [mm]
P [mm]

Filter löschen
Norm
Norm

Filter löschen
L [mm]
L [mm]

Filter löschen
Artikel Nr
Bezeichnung
d
MF6 - MF16
P [mm]
0.75 - 1.5
Norm
371 - 374
L [mm]
80 - 100
a [mm]
4.9 - 9
d1 [mm]
6 - 12
l [mm]
11 - 14
l3 [mm]
30 - -
Ø [mm]
5.2 - 14.5
x
x
Anschnittlänge
2.5 x P
Typ
N360TN-3 - N460TN-3
Netto CHF
zzgl. Versand
Staffelung
Netto CHF
zzgl. Versand
Menge
7 gefundene Artikel
Loading...
zzgl.
pro