Warenkorb

Es gibt keine Treffer zu Ihrer Suche

262240

DC Gewindebohrer Metrisches ISO-Feingewinde

Produkteigenschaften:
P_SwissMade_(P010) P_HSS-E_PM P_VAP P_MF P_RH P_ISO2_6H P_B_3.5-5.5 P_Schaftform_Vierkant P_Z3
Anwendung:
P_neutral M_Hauptanwendung K_neutral N_neutral S_Nebenanwendung H_neutral O_neutral P_Durchgangsloch W02010Z_1
gerade Nuten, Schälanschnitt, SwissMade, HSS-E_PM, vaporisiert, Metrisches ISO-Feingewinde, Rechtsgewinde, Toleranzfeld ISO2 / 6H, Anschnittform B (3.5-5.5 x P), Zylinderschaft mit Vierkant, Anzahl Zähne 3
Leistungsklasse Z
Für zähe Werkstoffe wie rost-, säure- und hitzebeständige Stähle mit einer Bruchdehnung über 30%. Für Minimal-Schmierung.
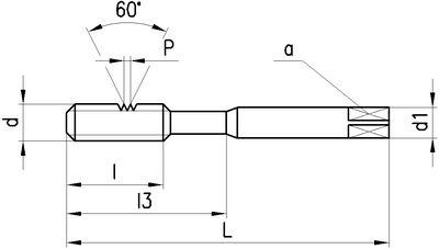
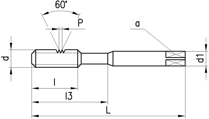
Anschnittlänge:
4 x P
Lochart: Durchgangsloch.
Ausführungen:
MF6...MF10: Z320V-4, Schaft verstärkt, DIN 371
MF12...MF16: Z420V-4, Schaft durchfallend, DIN 374
7 gefundene Artikel
FILTER
d
d

Filter löschen
P [mm]
P [mm]

Filter löschen
Norm
Norm

Filter löschen
L [mm]
L [mm]

Filter löschen
Artikel Nr
Bezeichnung
d
MF6 - MF16
P [mm]
0.75 - 1.5
Norm
371 - 374
L [mm]
80 - 100
a [mm]
4.9 - 9
d1 [mm]
6 - 12
l [mm]
17 - 26
l3 [mm]
30 - -
Ø [mm]
5.2 - 14.5
x
x
Anschnittlänge
4 x P
Typ
Z320V-4 - Z420V-4
Netto CHF
zzgl. Versand
Staffelung
Netto CHF
zzgl. Versand
Menge
7 gefundene Artikel
Loading...
zzgl.
pro