Warenkorb

Es gibt keine Treffer zu Ihrer Suche

262260

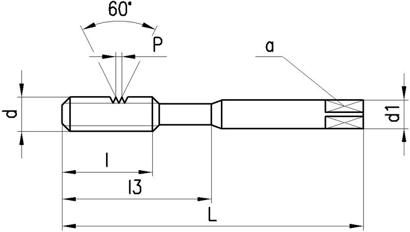
DC Gewindebohrer Metrisches ISO-Feingewinde

Produkteigenschaften:
P_SwissMade_(P010) P_HSS-E P_VAP P_MF P_RH P_ISO2_6H P_C_2-3 P_Schaftform_Vierkant P_Z3-4
Anwendung:
P_neutral M_Hauptanwendung K_neutral N_neutral S_Nebenanwendung H_neutral O_neutral P_SL_2.5 W02010Z_1
Spiralnuten 40°, SwissMade, HSS-E, vaporisiert, Metrisches ISO-Feingewinde, Rechtsgewinde, Toleranzfeld ISO2 / 6H, Anschnittform C (2-3 x P), Zylinderschaft mit Vierkant, Anzahl Zähne 3-4
Leistungsklasse Z
Für zähe Werkstoffe wie rost-, säure- und hitzebeständige Stähle mit einer Bruchdehnung über 30%. Für Minimal-Schmierung.
Anschnittlänge:
2.5 x P
Lochart: Sackloch < 2.5 x d.
Ausführungen:
MF4...MF10: Z360V-3, Schaft verstärkt, DIN 371
MF12...MF24: Z460V-3, Schaft durchfallend, DIN 374
14 gefundene Artikel
Seite
1 2
FILTER
d
d

Filter löschen
P [mm]
P [mm]

Filter löschen
Norm
Norm

Filter löschen
L [mm]
L [mm]

Filter löschen
Artikel Nr
Bezeichnung
d
MF4 - MF24
P [mm]
0.5 - 2
Norm
371 - 374
L [mm]
63 - 140
a [mm]
3.4 - 14.5
d1 [mm]
4.5 - 18
l [mm]
7.5 - 22
l3 [mm]
21 - -
Ø [mm]
3.5 - 22
Z
3 - 4
x
x
Anschnittlänge
2.5 x P
Typ
Z360V-3 - Z460V-3
Netto CHF
zzgl. Versand
Staffelung
Netto CHF
zzgl. Versand
Menge
14 gefundene Artikel
Seite
1 2
Loading...
zzgl.
pro