Warenkorb

Es gibt keine Treffer zu Ihrer Suche

263110

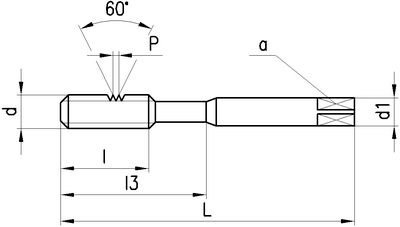
DC Gewindebohrer UNF-Gewinde

Produkteigenschaften:
P_SwissMade_(P010) P_HSS-E_PM P_VS P_UNF P_RH P_2BX P_C_2-3 P_Schaftform_Vierkant P_Z3-4
Anwendung:
P_Nebenanwendung M_Hauptanwendung K_neutral N_neutral S_Nebenanwendung H_neutral O_neutral P_SL_3 W02010Z_1
Spiralnuten 45°, SwissMade, HSS-E_PM, VS-Verschleissschutzschicht, UNF-Gewinde, Rechtsgewinde, Toleranzfeld 2BX, Anschnittform C (2-3 x P), Zylinderschaft mit Vierkant, Anzahl Zähne 3-4
Leistungsklasse Z
Für zähe Werkstoffe wie rost-, säure- und hitzebeständige Stähle mit einer Bruchdehnung über 30%. Für Minimal-Schmierung.
Anschnittlänge:
2.5 x P
Lochart: Sackloch < 3 x d.
Ausführungen:
UNF 10...UNF 3/8": Z370VS-3, Schaft verstärkt, DIN 371
UNF 7/16"...UNF 1/2": Z470VS-3, Schaft durchfallend, DIN 376
6 gefundene Artikel
FILTER
d
d

Filter löschen
P [Zoll]
P [Zoll]

Filter löschen
Norm
Norm

Filter löschen
L [mm]
L [mm]

Filter löschen
Artikel Nr
Bezeichnung
d
UNF 10 - UNF 1/2"
P [Zoll]
32 - 20
Norm
371 - 376
L [mm]
70 - 110
Gg/1" [Zoll]
32 - 20
a [mm]
4.9 - 8
d1 [mm]
6 - 10
l [mm]
9 - 14
l3 [mm]
25 - -
Ø [mm]
4.05 - 11.4
Anzahl Zähne
3 - 4
Anschnittlänge
2.5 x P
Typ
Z370VS-3 - Z470VS-3
Netto CHF
zzgl. Versand
Staffelung
Netto CHF
zzgl. Versand
Menge
6 gefundene Artikel
Loading...
zzgl.
pro