Warenkorb

Es gibt keine Treffer zu Ihrer Suche

263300

DC Gewindebohrer Rohrgewinde

Produkteigenschaften:
P_SwissMade_(P010) P_HSS-E P_G P_RH P_C_2-3 P_Schaftform_Vierkant P_Z3-5
Anwendung:
P_Nebenanwendung M_neutral K_Nebenanwendung N_Nebenanwendung S_neutral H_neutral O_Nebenanwendung P_DLSL_1.5 W02010N
gerade Nuten, SwissMade, HSS-E, Rohrgewinde, Rechtsgewinde, Anschnittform C (2-3 x P), Zylinderschaft mit Vierkant, Anzahl Zähne 3-5
Leistungsklasse N
Für kurz und mittellang spanende Werkstoffe mit einer Zugfestigkeit von Rm > 350...1000 N/mm2.
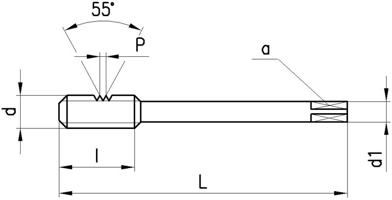
Anschnittlänge:
2.5 x P
Lochart: Durchgangsloch und Sackloch < 1.5 x d.
Ausführungen:
G 1/8"...G 1 1/2": N410-3, Schaft durchfallend, DIN 5156
7 gefundene Artikel
FILTER
d
d

Filter löschen
P [Zoll]
P [Zoll]

Filter löschen
Gg/1" [Zoll]
Gg/1" [Zoll]

Filter löschen
Norm
Norm

Filter löschen
Artikel Nr
Bezeichnung
d
G 1/8" - G 1 1/2"
P [Zoll]
28 - 11
Gg/1" [Zoll]
28 - 11
Norm
5156
L [mm]
90 - 190
a [mm]
5.5 - 29
d1 [mm]
7 - 36
l [mm]
22 - 32
Ø [mm]
8.75 - 45.2
Z
3 - 5
Anschnittlänge
2.5 x P
Typ
N410-3
Netto CHF
zzgl. Versand
Staffelung
Netto CHF
zzgl. Versand
Menge
263300.0100
DC Gewindebohrer N410-3 HSSE, G, DIN 5156
G 1/8"
G 1/8"
28
28
5156
Artikel Details
263300.0200
DC Gewindebohrer N410-3 HSSE, G, DIN 5156
G 1/4"
G 1/4"
19
19
5156
Artikel Details
263300.0300
DC Gewindebohrer N410-3 HSSE, G, DIN 5156
G 3/8"
G 3/8"
19
19
5156
Artikel Details
263300.0400
DC Gewindebohrer N410-3 HSSE, G, DIN 5156
G 1/2"
G 1/2"
14
14
5156
Artikel Details
263300.0500
DC Gewindebohrer N410-3 HSSE, G, DIN 5156
G 3/4"
G 3/4"
14
14
5156
Artikel Details
263300.0600
DC Gewindebohrer N410-3 HSSE, G, DIN 5156
G 1"
G 1"
11
11
5156
Artikel Details
263300.0700
DC Gewindebohrer N410-3 HSSE, G, DIN 5156
G 1 1/2"
G 1 1/2"
11
11
5156
Artikel Details
7 gefundene Artikel
Loading...
zzgl.
pro