Warenkorb

Es gibt keine Treffer zu Ihrer Suche

263550

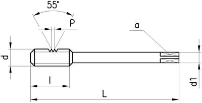
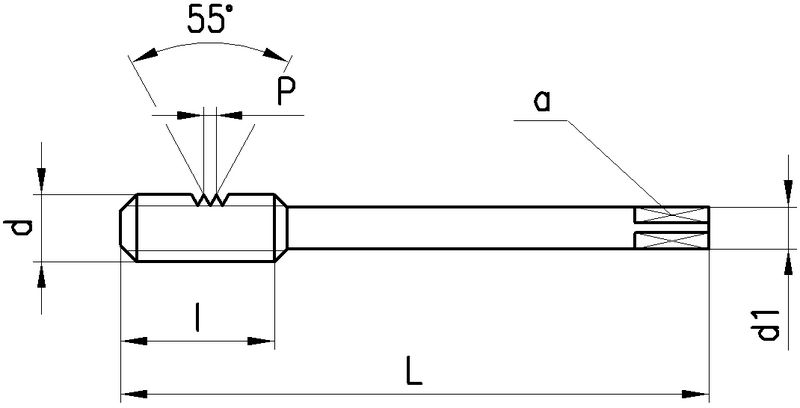
DC Gewindebohrer Rohrgewinde

Produkteigenschaften:
P_SwissMade_(P010) P_HSS-E_PM P_VS P_G P_RH P_C_2-3 P_Schaftform_Vierkant P_Z3-4
Anwendung:
P_Nebenanwendung M_Hauptanwendung K_neutral N_neutral S_Nebenanwendung H_neutral O_neutral P_SL_3 W02010Z_1
Spiralnuten 45°, SwissMade, HSS-E_PM, VS-Verschleissschutzschicht, Rohrgewinde, Rechtsgewinde, Anschnittform C (2-3 x P), Zylinderschaft mit Vierkant, Anzahl Zähne 3-4
Leistungsklasse Z
Für zähe Werkstoffe wie rost-, säure- und hitzebeständige Stähle mit einer Bruchdehnung über 30%. Für Minimal-Schmierung.
Anschnittlänge:
2.5 x P
Lochart: Sackloch < 3 x d.
Ausführungen:
G 1/8"...G 1/2": Z470VS-3, Schaft durchfallend, DIN 376
4 gefundene Artikel
FILTER
d
d

Filter löschen
P [Zoll]
P [Zoll]

Filter löschen
Norm
Norm

Filter löschen
d1 [mm]
d1 [mm]

Filter löschen
Artikel Nr
Bezeichnung
d
G 1/8" - G 1/2"
P [Zoll]
28 - 14
Norm
376
d1 [mm]
8 - 16
Gg/1" [Zoll]
28 - 14
L [mm]
100 - 125
a [mm]
6.2 - 12
l [mm]
14 - 20
Ø [mm]
8.75 - 18.9
Anzahl Zähne
3 - 4
Anschnittlänge
2.5 x P
Typ
Z470VS-3
Netto CHF
zzgl. Versand
Staffelung
Netto CHF
zzgl. Versand
Menge
263550.0100
DC Gewindebohrer Z470VS-3 HSS-E PM, G , VS, ~DIN376
G 1/8-28
G 1/8"
28
376
8
Artikel Details
263550.0200
DC Gewindebohrer Z470VS-3 HSS-E PM, G , VS, ~DIN376
G 1/4-19
G 1/4"
19
376
12
Artikel Details
263550.0300
DC Gewindebohrer Z470VS-3 HSS-E PM, G , VS, ~DIN376
G 3/8-19
G 3/8"
19
376
12
Artikel Details
263550.0400
DC Gewindebohrer Z470VS-3 HSS-E PM, G , VS, ~DIN376
G 1/2-14
G 1/2"
14
376
16
Artikel Details
4 gefundene Artikel
Loading...
zzgl.
pro