Warenkorb

Es gibt keine Treffer zu Ihrer Suche

261530

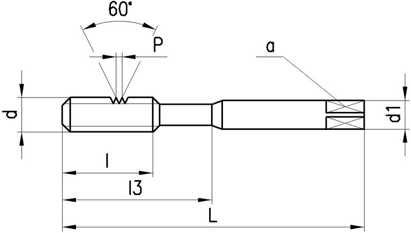
DC Gewindebohrer QTAP Metrisches ISO-Gewinde

Produkteigenschaften:
P_SwissMade_(P010) P_HSS-E_PM P_VS P_M_ P_RH P_6H P_B_3.5-5.5 P_Schaftform_Vierkant P_Z3-4
Anwendung:
P_Hauptanwendung M_Hauptanwendung K_Hauptanwendung N_Hauptanwendung S_Nebenanwendung H_neutral O_Nebenanwendung P_Durchgangsloch W02010QTAP
gerade Nuten, Schälanschnitt, SwissMade, HSS-E_PM, VS-Verschleissschutzschicht, Metrisches ISO-Gewinde, Rechtsgewinde, Toleranzfeld 6H, Anschnittform B (3.5-5.5 x P), Zylinderschaft mit Vierkant, Anzahl Zähne 3-4

Leistungsklasse QTAP
Speziell geeignet für den umfangreichen Einsatz in Stahl, Inox, Guss, Superlegierungen sowie in NE-Werkstoffe.


Anschnittlänge
4 x P
Lochart: Durchgangsloch.
Ausführungen:
M3...M10: Q320VS-4, Schaft verstärkt, DIN 371
M12...M24: Q420VS-4, Schaft durchfallend, DIN 376

Ist Bestandteil von:
261561 DC Sortiment Gewindebohrer QTAP Metrisches ISO-Gewinde
Downloads:
Schnittdaten
11 gefundene Artikel
Seite
1 2
FILTER
d
d

Filter löschen
P [mm]
P [mm]

Filter löschen
Norm
Norm

Filter löschen
L [mm]
L [mm]

Filter löschen
Artikel Nr
Bezeichnung
d
M3 - M24
P [mm]
0.50 - 3.00
Norm
371 - 376
L [mm]
56 - 160
a [mm]
2.7 - 14.5
d1 [mm]
3.5 - 18.0
l [mm]
12.0 - 39.0
l3 [mm]
18 - -
Ø [mm]
2.50 - 21.00
Z
3 - 4
Anschnittlänge
4 x P
Typ
Q320VS-4 - Q420VS-4
Netto CHF
zzgl. Versand
Staffelung
Netto CHF
zzgl. Versand
Menge
11 gefundene Artikel
Seite
1 2
Loading...
zzgl.
pro