Warenkorb

Es gibt keine Treffer zu Ihrer Suche

261535

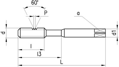
DC Gewindebohrer QTAP Metrisches ISO-Gewinde

Produkteigenschaften:
P_SwissMade_(P010) P_HSS-E_PM P_VS P_M_ P_RH P_6H P_C_2-3 P_Schaftform_Vierkant P_Z3-4
Anwendung:
P_Hauptanwendung M_Hauptanwendung K_Hauptanwendung N_Hauptanwendung S_Nebenanwendung H_neutral O_Nebenanwendung P_SL_2.5 W02010QTAP
Spiralnuten 40°, SwissMade, HSS-E_PM, VS-Verschleissschutzschicht, Metrisches ISO-Gewinde, Rechtsgewinde, Toleranzfeld 6H, Anschnittform C (2-3 x P), Zylinderschaft mit Vierkant, Anzahl Zähne 3-4

Leistungsklasse QTAP
Speziell geeignet für den umfangreichen Einsatz in Stahl, Inox, Guss, Superlegierungen sowie in NE-Werkstoffe.

Anschnittlänge
2.5 x P

Lochart: Sackloch < 2.5 x d.

Ausführungen:
M3...M10: Q360VS-3, Schaft verstärkt, DIN 371
M12...M24: Q460VS-3, Schaft durchfallend, DIN 376

Ist Bestandteil von:
261551 DC Sortiment Gewindebohrer QTAP Metrisches ISO-Gewinde
Downloads:
Schnittdaten
11 gefundene Artikel
Seite
1 2
FILTER
d
d

Filter löschen
P [mm]
P [mm]

Filter löschen
Norm
Norm

Filter löschen
L [mm]
L [mm]

Filter löschen
Artikel Nr
Bezeichnung
d
M3 - M24
P [mm]
0.50 - 3.00
Norm
371 - 376
L [mm]
56 - 160
a [mm]
2.7 - 14.5
d1 [mm]
3.5 - 18.0
l [mm]
5.5 - 27.0
l3 [mm]
18 - -
Ø [mm]
2.50 - 21.00
Z
3 - 4
Anschnittlänge
2.5 x P
Typ
Q360VS-3 - Q460VS-3
Staffelung
Netto CHF
zzgl. Versand
Menge
261535.0100
DC Gewindebohrer QTAP, Q360VS-3 HSSE-PM, metr., DIN 371
M 3
d
P [mm]
Norm
L [mm]
d
M3
P [mm]
0.50
Norm
371
L [mm]
56
Staffelung, Netto CHF zzgl. Versand
Staffelung, Netto CHF zzgl. Versand
product.table_item.graduation, product.table_item.pricing
Artikel Details
261535.0200
DC Gewindebohrer QTAP, Q360VS-3 HSSE-PM, metr., DIN 371
M 4
d
P [mm]
Norm
L [mm]
d
M4
P [mm]
0.70
Norm
371
L [mm]
63
Staffelung, Netto CHF zzgl. Versand
Staffelung, Netto CHF zzgl. Versand
product.table_item.graduation, product.table_item.pricing
Artikel Details
261535.0300
DC Gewindebohrer QTAP, Q360VS-3 HSSE-PM, metr., DIN 371
M 5
d
P [mm]
Norm
L [mm]
d
M5
P [mm]
0.80
Norm
371
L [mm]
70
Staffelung, Netto CHF zzgl. Versand
Staffelung, Netto CHF zzgl. Versand
product.table_item.graduation, product.table_item.pricing
Artikel Details
261535.0400
DC Gewindebohrer QTAP, Q360VS-3 HSSE-PM, metr., DIN 371
M 6
d
P [mm]
Norm
L [mm]
d
M6
P [mm]
1.00
Norm
371
L [mm]
80
Staffelung, Netto CHF zzgl. Versand
Staffelung, Netto CHF zzgl. Versand
product.table_item.graduation, product.table_item.pricing
Artikel Details
261535.0500
DC Gewindebohrer QTAP, Q360VS-3 HSSE-PM, metr., DIN 371
M 8
d
P [mm]
Norm
L [mm]
d
M8
P [mm]
1.25
Norm
371
L [mm]
90
Staffelung, Netto CHF zzgl. Versand
Staffelung, Netto CHF zzgl. Versand
product.table_item.graduation, product.table_item.pricing
Artikel Details
261535.0600
DC Gewindebohrer QTAP, Q360VS-3 HSSE-PM, metr., DIN 371
M10
d
P [mm]
Norm
L [mm]
d
M10
P [mm]
1.50
Norm
371
L [mm]
100
Staffelung, Netto CHF zzgl. Versand
Staffelung, Netto CHF zzgl. Versand
product.table_item.graduation, product.table_item.pricing
Artikel Details
261535.0700
DC Gewindebohrer QTAP, Q460VS-3 HSSE-PM, metr., DIN 376
M12
d
P [mm]
Norm
L [mm]
d
M12
P [mm]
1.75
Norm
376
L [mm]
110
Staffelung, Netto CHF zzgl. Versand
Staffelung, Netto CHF zzgl. Versand
product.table_item.graduation, product.table_item.pricing
Artikel Details
261535.0800
DC Gewindebohrer QTAP, Q460VS-3 HSSE-PM, metr., DIN 376
M14
d
P [mm]
Norm
L [mm]
d
M14
P [mm]
2.00
Norm
376
L [mm]
110
Staffelung, Netto CHF zzgl. Versand
Staffelung, Netto CHF zzgl. Versand
product.table_item.graduation, product.table_item.pricing
Artikel Details
261535.0900
DC Gewindebohrer QTAP, Q460VS-3 HSSE-PM, metr., DIN 376
M16
d
P [mm]
Norm
L [mm]
d
M16
P [mm]
2.00
Norm
376
L [mm]
110
Staffelung, Netto CHF zzgl. Versand
Staffelung, Netto CHF zzgl. Versand
product.table_item.graduation, product.table_item.pricing
Artikel Details
261535.1000
DC Gewindebohrer QTAP, Q460VS-3 HSSE-PM, metr., DIN 376
M20
d
P [mm]
Norm
L [mm]
d
M20
P [mm]
2.50
Norm
376
L [mm]
140
Staffelung, Netto CHF zzgl. Versand
Staffelung, Netto CHF zzgl. Versand
product.table_item.graduation, product.table_item.pricing
Artikel Details
11 gefundene Artikel
Seite
1 2
Loading...
zzgl.
pro