Warenkorb

Es gibt keine Treffer zu Ihrer Suche

261605

DC Gewindeformer Metrisches ISO-Gewinde

Produkteigenschaften:
P_SwissMade_(P010) P_HSS-E_PM P_VS P_M_ P_RH P_6HX P_C_2-3 P_Schaftform_Vierkant
Anwendung:
P_Hauptanwendung M_neutral K_neutral N_neutral S_neutral H_neutral O_neutral P_DLSL_2.5 W02010FPS_VS
Schmiernuten, SwissMade, HSS-E_PM, VS-Verschleissschutzschicht, Metrisches ISO-Gewinde, Rechtsgewinde, Toleranzfeld 6HX, Anschnittform C (2-3 x P), Zylinderschaft mit Vierkant
Leistungsklasse FPS
Für gut formbare Werkstoffe mit einer Zugfestigkeit bis 1150 N/mm², Bruchdehnung min. 10%.
Anschnittlänge:
2.5 x P
Lochart: Durchgangsloch und Sackloch < 2.5 x d.

Ausführungen:
M3...M10: FPS381VS-3, Schaft verstärkt, DIN ~2174
M12...M16: FPS481VS-4, Schaft durchfallend, DIN ~2174
10 gefundene Artikel
FILTER
d
d

Filter löschen
P [mm]
P [mm]

Filter löschen
Norm
Norm

Filter löschen
L [mm]
L [mm]

Filter löschen
Artikel Nr
Bezeichnung
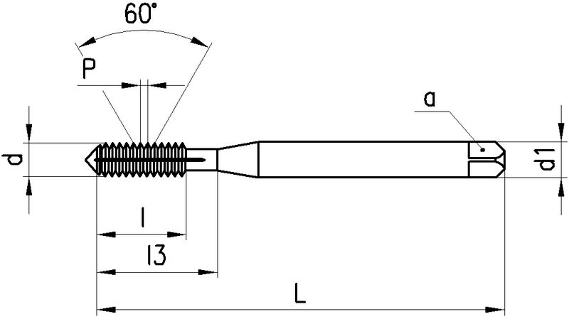
d
M3 - M16
P [mm]
0.5 - 2
Norm
~2174
L [mm]
56 - 110
a [mm]
2.7 - 9
d1 [mm]
3.5 - 12
l [mm]
12 - 30
l3 [mm]
18 - -
Ø [mm]
2.8 - 15.1
Anschnittlänge
2.5 x P
Typ
FPS381VS-3 - FPS481VS-4
Netto CHF
zzgl. Versand
Staffelung
Netto CHF
zzgl. Versand
Menge
10 gefundene Artikel
Loading...
zzgl.
pro