Warenkorb

Es gibt keine Treffer zu Ihrer Suche

261690

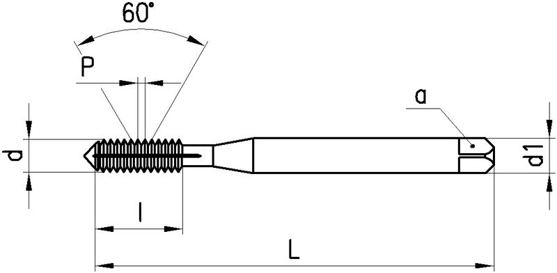
DC Gewindeformer Metrisches ISO-Gewinde

Produkteigenschaften:
P_SwissMade_(P010) P_HSS-E_PM P_VS P_M_ P_RH P_6HX P_E_1.5-2 P_Schaftform_Zyl_Vierkant
Anwendung:
P_Nebenanwendung M_Hauptanwendung K_neutral N_neutral S_Nebenanwendung H_neutral O_neutral P_DLSL_2.5 W02010FS
, SwissMade, HSS-E_PM, VS-Verschleissschutzschicht, Metrisches ISO-Gewinde, Rechtsgewinde, Toleranzfeld 6HX, Anschnittform E (1.5-2 x P), Zylindrisch (ohne Fläche, HA)/ Zylinderschaft mit Vierkant
Leistungsklasse FS
Stahl, Rostfrei, Reintitan, Kupfer, Aluminium, Nickellegierungen.
Anschnittlänge:

M1...M1.8: 1.5 x P
M2...M2.5: 2.5 x P
Lochart: Durchgangsloch und Sackloch < 2.5 x d.
Ausführungen:
M1...M1.4: FS380VS-5, Schaft verstärkt, DIN 2174, ohne Vierkant, Toleranzfeld 4HX,
M1.6...M1.8: FS380VS-5, Schaft verstärkt, DIN 2174, ohne Vierkant, Toleranzfeld 6HX,
M2...M2.5: FS380VS-3, Schaft verstärkt, DIN 2174, mit Vierkant, Toleranzfeld 6HX,
7 gefundene Artikel
FILTER
d
d

Filter löschen
P [mm]
P [mm]

Filter löschen
L [mm]
L [mm]

Filter löschen
Artikel Nr
Bezeichnung
d
M1 - M2.5
P [mm]
0.25 - 0.45
L [mm]
40 - 50
a [mm]
- - 2.1
d1 [mm]
2.5 - 2.8
l [mm]
3 - 10
Norm
2174
Ø [mm]
0.88 +/-0.01 - 2.30 +/-0.03
Anschnittlänge
1.5 x P - 2.5 x P
Ausführung
ohne Vierkant, Toleranzfeld 4HX - mit Vierkant, Toleranzfeld 6HX
Typ
FS380VS-5 - FS380VS-3
Netto CHF
zzgl. Versand
Staffelung
Netto CHF
zzgl. Versand
Menge
7 gefundene Artikel
Loading...
zzgl.
pro