Warenkorb

Es gibt keine Treffer zu Ihrer Suche

261880

DC Satz Gewindebohrer Metrisches ISO Gewinde

Produkteigenschaften:
P_SwissMade_(P010) P_HSS P_M_ P_RH P_ISO2_6H P_Schaftform_Vierkant P_Z3-4
Anwendung:
P_Nebenanwendung M_neutral K_Nebenanwendung N_Nebenanwendung S_neutral H_neutral O_Nebenanwendung P_DLSL_2.5 W02012N
3-teilig, SwissMade, HSS, Metrisches ISO-Gewinde, Rechtsgewinde, Toleranzfeld ISO2 / 6H, Zylinderschaft mit Vierkant, Anzahl Zähne 3-4
Bestehend aus:
261850 DC Gewindebohrer Metrisches ISO-Gewinde
261860 DC Gewindebohrer Metrisches ISO-Gewinde
261870 DC Gewindebohrer Metrisches ISO-Gewinde
Leistungsklasse N
Für normale Werkstoffe.
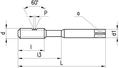
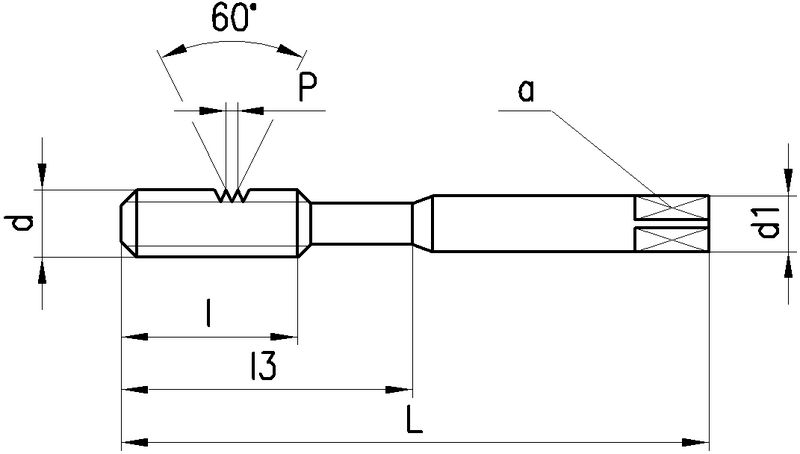
Anschnittlänge:
2-5 x P
Lochart: Durchgangsloch und Sackloch < 2.5 x d.
Ausführungen:
M1...M1.4: N1110-S, Schaft verstärkt, ISO ~529, Toleranzfeld ISO1 / 4H
M1.6...M10: N1110-S, Schaft verstärkt, ISO ~529, Toleranzfeld ISO2 / 6H
M12...M30: N1210-S, Schaft durchfallend, ISO 529, Toleranzfeld ISO2 / 6H
20 gefundene Artikel
Seite
1 2
FILTER
d
d

Filter löschen
P [mm]
P [mm]

Filter löschen
Norm
Norm

Filter löschen
L [mm]
L [mm]

Filter löschen
Artikel Nr
Bezeichnung
d
M1 - M30
P [mm]
0.25 - 3.5
Norm
~529 - 529
L [mm]
40 - 138
a [mm]
2.1 - 16
d1 [mm]
2.5 - 20
l [mm]
5.5 - 48
l3 [mm]
- - 39
Ø [mm]
0.75 - 26.5
Z
3 - 4
Anschnittlänge
2-5 x P
Netto CHF
zzgl. Versand
Staffelung
Netto CHF
zzgl. Versand
Menge
261880.0100
DC Gewindebohrer-Satz 3-teilig N1110-S HSSE, metr., Tol. ISO2 6H, ISO 529
M 1
M1
0.25
~529
40
Artikel Details Teil des Kits 2
Loading...
261880.0200
DC Gewindebohrer-Satz 3-teilig N1110-S HSSE, metr., Tol. ISO2 6H, ISO 529
M 1.2
M1.2
0.25
~529
40
Artikel Details Teil des Kits 2
Loading...
261880.0300
DC Gewindebohrer-Satz 3-teilig N1110-S HSSE, metr., Tol. ISO2 6H, ISO 529
M 1.4
M1.4
0.3
~529
40
Artikel Details Teil des Kits 2
Loading...
261880.0400
DC Gewindebohrer-Satz 3-teilig N1110-S HSSE, metr., Tol. ISO2 6H, ISO 529
M 1.6
M1.6
0.35
~529
40
Artikel Details Teil des Kits 2
Loading...
261880.0500
DC Gewindebohrer-Satz 3-teilig N1110-S HSSE, metr., Tol. ISO2 6H, ISO 529
M 1.8
M1.8
0.35
~529
40
Artikel Details Teil des Kits 2
Loading...
261880.0600
DC Gewindebohrer-Satz 3-teilig N1110-S HSSE, metr., Tol. ISO2 6H, ISO 529
M 2
M2
0.4
~529
45
Artikel Details Teil des Kits 2
Loading...
261880.0800
DC Gewindebohrer-Satz 3-teilig N1110-S HSSE, metr., Tol. ISO2 6H, ISO 529
M 2.5
M2.5
0.45
~529
45
Artikel Details Teil des Kits 2
Loading...
261880.0900
DC Gewindebohrer-Satz 3-teilig N1110-S HSSE, metr., Tol. ISO2 6H, ISO 529
M 3
M3
0.5
~529
48
Artikel Details Teil des Kits 2
Loading...
261880.1100
DC Gewindebohrer-Satz 3-teilig N1110-S HSSE, metr., Tol. ISO2 6H, ISO 529
M 4
M4
0.7
~529
53
Artikel Details Teil des Kits 2
Loading...
261880.1200
DC Gewindebohrer-Satz 3-teilig N1110-S HSSE, metr., Tol. ISO2 6H, ISO 529
M 5
M5
0.8
~529
58
Artikel Details Teil des Kits 2
Loading...
20 gefundene Artikel
Seite
1 2
Loading...
zzgl.
pro