Warenkorb

Es gibt keine Treffer zu Ihrer Suche

210020

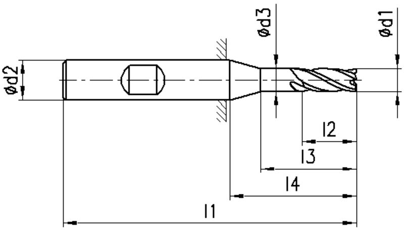
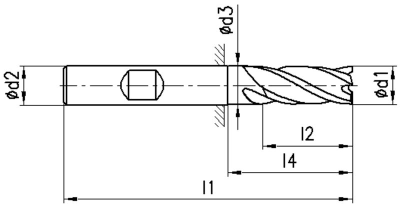
FRANKEN HSS-Eckfräser

Produkteigenschaften:
P_HSS-E_Co8 P_Schneidendurchmesser_4-40 P_TiCN P_L30 P_Schneidentoleranz_k10 P_Schaftform_WeldonP_Schafttol_h6 P_Laenge_02_Kurz P_Vorschub3_Zyl_bis28 P_Vorschub1_Zyl_ab29 P_ohne_Schutzphase P_Z4-6 P_DIN_844K
Anwendung:
P_Hauptanwendung M_Nebenanwendung K_Hauptanwendung N_Nebenanwendung S_Nebenanwendung H_neutral O_neutral P_Eckfraesen
1311C, Typ N, HSS-E Co8, Ø 4-40 mm, TiCN-Beschichtung, Drallwinkel 30°, Spanwinkel 12°, Schneidentoleranz k10, Weldon (mit Fläche, HB), Schafttoleranz h6, kurz, bis 28 mm mit Zentrumschnitt, Scharfe Eckenausführung, Anzahl Zähne 4-6, DIN 844K

Ist Bestandteil von:
212720 FRANKEN Sortiment HSS-Eckfräser
17 gefundene Artikel
Seite
1 2
FILTER
d1 [mm]
d1 [mm]

Filter löschen
l2 [mm]
l2 [mm]

Filter löschen
l3 [mm]
l3 [mm]

Filter löschen
l4 [mm]
l4 [mm]

Filter löschen
Artikel Nr
Bezeichnung
d1 [mm]
4 - 40
l2 [mm]
11 - 63
l3 [mm]
- - 25
l4 [mm]
17 - 80
d2 [mm]
6 - 40
l1 [mm]
55 - 155
d3 [mm]
- - 38
Anzahl Zähne
4 - 6
Netto CHF
zzgl. Versand
Staffelung
Netto CHF
zzgl. Versand
Menge
17 gefundene Artikel
Seite
1 2
Loading...
zzgl.
pro