Warenkorb

Es gibt keine Treffer zu Ihrer Suche

221890

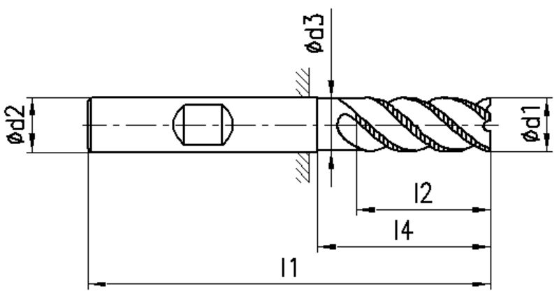
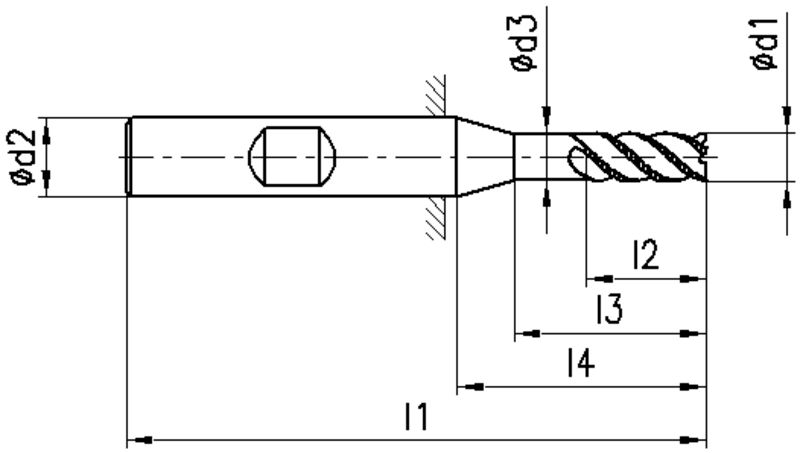
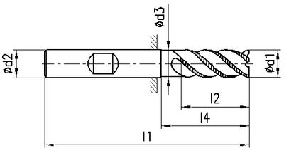
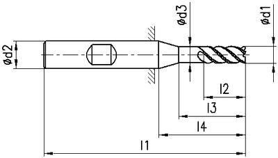
FRANKEN VHM-Eck-/ Nutfräser Multi-Cut

Produkteigenschaften:
P_VHM P_Schneidendurchmesser_3-20 P_TiAlN P_L45 P_Schneidentoleranz_h11 P_Schaftform_WeldonP_Schafttol_h6 P_Laenge_05_ExtraLang P_Vorschub3 P_ungleiche_Teilung P_mit_Schutzphase P_Z3-4 P_DIN_6535
Anwendung:
P_Hauptanwendung M_neutral K_Hauptanwendung N_Nebenanwendung S_neutral H_Nebenanwendung O_neutral P_Nut-Eckfraesen
2875A, Multi-Cut, K10-20, VHM, Ø 3-20 mm, TiAlN-Beschichtung, Drallwinkel 45°, Spanwinkel 10°, Schneidentoleranz h11, Weldon (mit Fläche, HB), Schafttoleranz h6, extralang, Zentrumschnitt, ungleiche Teilung, mit Schutzfase, Anzahl Zähne 3-4, DIN 6535

Anwendung
Patentierte Schneidengeometrie für die hoch wirtschaftliche Zerspanung diverser Materialien. Zur Bearbeitung von Stahl bis 42 HRC sowie für die Zerspanung von Gusseisen und NE-Metallen.
Eigenschaften
Ungleiche Teilung wirkt gegen Vibrationen.
9 gefundene Artikel
FILTER
d1 [mm]
d1 [mm]

Filter löschen
l2 [mm]
l2 [mm]

Filter löschen
l3 [mm]
l3 [mm]

Filter löschen
d2 [mm]
d2 [mm]

Filter löschen
Artikel Nr
Bezeichnung
d1 [mm]
3 - 20
l2 [mm]
5 - 30
l3 [mm]
19 - -
d2 [mm]
6 - 20
l4 [mm]
23 - 70
l1 [mm]
62 - 126
d3 [mm]
2.9 - 19.5
Z
3 - 4
Schutzfase [mm]
0.3 - 0.5
Netto CHF
zzgl. Versand
Staffelung
Netto CHF
zzgl. Versand
Menge
9 gefundene Artikel
Loading...
zzgl.
pro