Warenkorb

Es gibt keine Treffer zu Ihrer Suche

264360

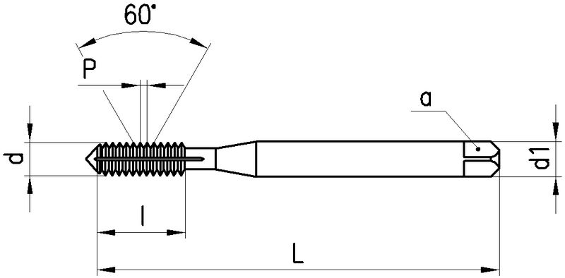
FUTURO Gewindeformer Metrisches ISO-Gewinde

FUTURO
Produkteigenschaften:
P_HSS-E P_TiN P_M_ P_RH P_6HX P_C_2-3 P_Schaftform_Vierkant
Anwendung:
P_Hauptanwendung M_Hauptanwendung K_neutral N_Nebenanwendung S_Hauptanwendung H_neutral O_neutral P_DurchgangsundSackloch
gerade Nuten und Schmiernut, HSS-E, TiN-Beschichtung, Metrisches ISO-Gewinde, Rechtsgewinde, Toleranzfeld 6HX, Anschnittform C (2-3 x P), Zylinderschaft mit Vierkant
Leistungsklasse
Für alle Werkstoffe, die sich für das Formen eignen, mit einer Bruchdehnung von mind. 10%.
Lochart: Durchgangs- und Sackloch.
Ausführungen:
M3...M10: Schaft verstärkt, DIN ~371
M12...M16: Schaft durchfallend, DIN ~376
Downloads:
Schnittdaten
8 gefundene Artikel
FILTER
d
d

Filter löschen
P [mm]
P [mm]

Filter löschen
DIN
DIN

Filter löschen
L [mm]
L [mm]

Filter löschen
Artikel Nr
Bezeichnung
d
M3 - M16
P [mm]
0.5 - 2
DIN
371 - 376
L [mm]
56 - 110
l [mm]
10 - 26
d1 [mm]
3.5 - 12
a [mm]
2.7 - 9
Ø [mm]
2.8 - 15.1
Netto CHF
zzgl. Versand
Staffelung
Netto CHF
zzgl. Versand
Menge
8 gefundene Artikel
Loading...
zzgl.
pro