Warenkorb

Es gibt keine Treffer zu Ihrer Suche

264110

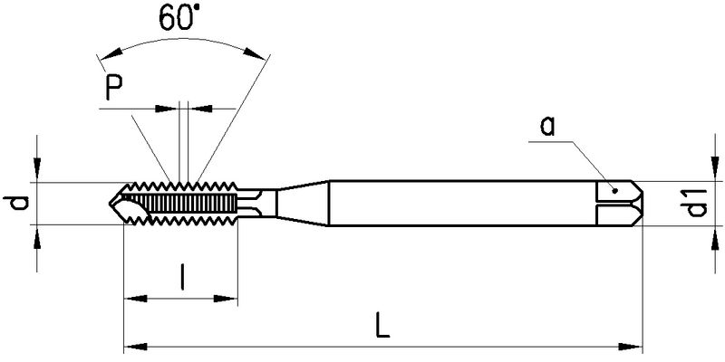
FUTURO Hochleistungs-Gewindebohrer Metrisches ISO-Gewinde

FUTURO
Produkteigenschaften:
P_HSS-E_PM P_THL P_M_ P_RH P_6HX P_B_3.5-5.5 P_Schaftform_Vierkant P_Z3-4 P_IK_Gewinden_radial
Anwendung:
P_Hauptanwendung M_Hauptanwendung K_Nebenanwendung N_Nebenanwendung S_neutral H_neutral O_neutral P_DL_2.5
gerade Nuten, Schälanschnitt, HSS-E_PM, THL-Beschichtung, Metrisches ISO-Gewinde, Rechtsgewinde, Toleranzfeld 6HX, Anschnittform B (3.5-5.5 x P), Zylinderschaft mit Vierkant, Anzahl Zähne 3-4, Innenkühlung radial
Leistungsklasse
Für legierte und rostfreie Stähle, Kugelgraphitguss, langspanende Alu-Guss- und Knetlegierungen, langspanende Kupfer- und Messinglegierungen.
Lochart: Durchgangsloch < 2.5 x d.
Ausführungen:
M5...M10: Schaft verstärkt, DIN 371
M12...M16: Schaft durchfallend, DIN 376
Downloads:
Schnittdaten
7 gefundene Artikel
FILTER
d
d

Filter löschen
P [mm]
P [mm]

Filter löschen
DIN
DIN

Filter löschen
L [mm]
L [mm]

Filter löschen
Artikel Nr
Bezeichnung
d
M5 - M16
P [mm]
0.8 - 2
DIN
371 - 376
L [mm]
70 - 110
l [mm]
14 - 28
d1 [mm]
6 - 12
a [mm]
4.9 - 9
Ø [mm]
4.2 - 14
Z
3 - 4
Netto CHF
zzgl. Versand
Staffelung
Netto CHF
zzgl. Versand
Menge
7 gefundene Artikel
Loading...
zzgl.
pro