Warenkorb

Es gibt keine Treffer zu Ihrer Suche

264460

FUTURO Hochleistungs-Gewindebohrer Rohrgewinde

FUTURO
Produkteigenschaften:
P_HSS-E_PM P_THL P_G P_RH P_6HX P_B_3.5-5.5 P_Schaftform_Vierkant P_Z3-5
Anwendung:
P_Hauptanwendung M_Hauptanwendung K_Nebenanwendung N_Nebenanwendung S_neutral H_neutral O_neutral P_DL_2.5
gerade Nuten, Schälanschnitt, HSS-E_PM, THL-Beschichtung, Rohrgewinde, Rechtsgewinde, Toleranzfeld 6HX, Anschnittform B (3.5-5.5 x P), Zylinderschaft mit Vierkant, Anzahl Zähne 3-5
Leistungsklasse
Für legierte und rostfreie Stähle, Kugelgraphitguss, langspanende Alu-Guss- und Knetlegierungen, langspanende Kupfer- und Messinglegierungen.
Lochart: Durchgangsloch < 2.5 x d.
Ausführungen:
G 1/8"...G 1": Schaft durchfallend, DIN 5156
Downloads:
Schnittdaten
7 gefundene Artikel
FILTER
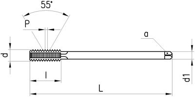
d
d

Filter löschen
P [Zoll]
P [Zoll]

Filter löschen
DIN
DIN

Filter löschen
L [mm]
L [mm]

Filter löschen
Artikel Nr
Bezeichnung
d
G 1/8" - G 1"
P [Zoll]
28 - 11
DIN
5156
L [mm]
90 - 160
l [mm]
18 - 30
d1 [mm]
7 - 25
a [mm]
5.5 - 20
Ø [mm]
8.8 - 30.75
Z
3 - 5
Netto CHF
zzgl. Versand
Staffelung
Netto CHF
zzgl. Versand
Menge
7 gefundene Artikel
Loading...
zzgl.
pro