Warenkorb

Es gibt keine Treffer zu Ihrer Suche

264230

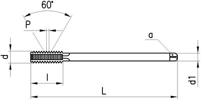
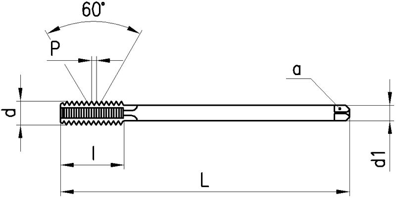
FUTURO Maschinen-Gewindebohrer Metrisches ISO-Gewinde

FUTURO
Produkteigenschaften:
P_HSS-E P_VAP P_M_ P_RH P_6H P_B_3.5-5.5 P_Schaftform_Vierkant
Anwendung:
P_neutral M_Hauptanwendung K_neutral N_neutral S_neutral H_neutral O_neutral P_Durchgangsloch
Typ VA, HSS-E, vaporisiert, Metrisches ISO-Gewinde, Rechtsgewinde, Toleranzfeld 6H, Anschnittform B (3.5-5.5 x P), Zylinderschaft mit Vierkant
Leistungsklasse
Für rostfreie Stähle martensitisch und austenitisch bis 1200 N/mm2.
Lochart: Durchgangsloch.
Ausführungen:
M3...M10: Schaft verstärkt, DIN 371
M12...M24: Schaft durchfallend, DIN 376
Downloads:
Schnittdaten
11 gefundene Artikel
Seite
1 2
FILTER
d
d

Filter löschen
P [mm]
P [mm]

Filter löschen
Artikel Nr
Bezeichnung
d
M3 - M24
P [mm]
0.5 - 3
l [mm]
10 - 36
L [mm]
56 - 160
d1 [mm]
3.5 - 18
a [mm]
2.7 - 14.5
DIN
371 - 376
Ø [mm]
2.5 - 21
Netto CHF
zzgl. Versand
Staffelung
Netto CHF
zzgl. Versand
Menge
11 gefundene Artikel
Seite
1 2
Loading...
zzgl.
pro