Warenkorb

Es gibt keine Treffer zu Ihrer Suche

264172

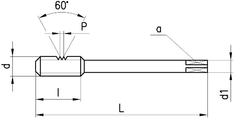
NERIOX Maschinen-Gewindebohrer Metrisches ISO-Gewinde

NERIOX
Produkteigenschaften:
P_HSS-E P_M_ P_RH P_ISO2_6H P_B_3.5-5.5 P_Schaftform_Vierkant P_Z3
Anwendung:
P_Nebenanwendung M_Nebenanwendung K_Nebenanwendung N_Nebenanwendung S_Nebenanwendung H_neutral O_neutral P_DL_3
gerade Nuten, Schälanschnitt, HSS-E, Metrisches ISO-Gewinde, Rechtsgewinde, Toleranzfeld ISO2 / 6H, Anschnittform B (3.5-5.5 x P), Zylinderschaft mit Vierkant, Anzahl Zähne 3
Leistungsklasse
Universell für alle Materialgruppen geeignet.
Anschnittlänge
3.5 x P
Lochart: Durchgangsloch < 3 x d.
Ausführungen:
M2...M10: UNI, Schaft verstärkt, DIN 371
M12...M16: UNI, Schaft durchfallend, DIN 376
Downloads:
Schnittdaten
9 gefundene Artikel
FILTER
d
d

Filter löschen
P [mm]
P [mm]

Filter löschen
L [mm]
L [mm]

Filter löschen
d1 [mm]
d1 [mm]

Filter löschen
Artikel Nr
Bezeichnung
d
M2 - M16
P [mm]
0.4 - 2
L [mm]
45 - 110
d1 [mm]
2.8 - 12
l [mm]
8 - 27
Z
3
a [mm]
2.1 - 9
Ø [mm]
1.6 - 14
Typ
UNI
Norm
371 - 376
Anschnittlänge
3.5 x P
Netto CHF
zzgl. Versand
Staffelung
Netto CHF
zzgl. Versand
Menge
9 gefundene Artikel
Loading...
zzgl.
pro