Warenkorb

Es gibt keine Treffer zu Ihrer Suche

264176

NERIOX Maschinen-Gewindebohrer Metrisches ISO-Feingewinde

NERIOX
Produkteigenschaften:
P_HSS-E P_MF P_RH P_ISO2_6H P_B_3.5-5.5 P_Schaftform_Vierkant P_Z3
Anwendung:
P_Nebenanwendung M_Nebenanwendung K_Nebenanwendung N_Nebenanwendung S_Nebenanwendung H_neutral O_neutral P_DL_3
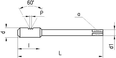
gerade Nuten, Schälanschnitt, HSS-E, Metrisches ISO-Feingewinde, Rechtsgewinde, Toleranzfeld ISO2 / 6H, Anschnittform B (3.5-5.5 x P), Zylinderschaft mit Vierkant, Anzahl Zähne 3
Leistungsklasse
Universell für alle Materialgruppen geeignet.
Anschnittlänge
3.5 x P
Lochart: Durchgangsloch < 3 x d.
Ausführungen:
MF4...MF16: UNI, Schaft durchfallend, DIN 374
Downloads:
Schnittdaten
12 gefundene Artikel
Seite
1 2
FILTER
d
d

Filter löschen
P [mm]
P [mm]

Filter löschen
L [mm]
L [mm]

Filter löschen
d1 [mm]
d1 [mm]

Filter löschen
Artikel Nr
Bezeichnung
d
MF4 - MF16
P [mm]
0.5 - 1.5
L [mm]
63 - 100
d1 [mm]
2.8 - 12
l [mm]
10 - 22
Z
3
a [mm]
2.1 - 9
Ø [mm]
3.5 - 14.5
Typ
UNI
Norm
374
Anschnittlänge
3.5 x P
Netto CHF
zzgl. Versand
Staffelung
Netto CHF
zzgl. Versand
Menge
12 gefundene Artikel
Seite
1 2
Loading...
zzgl.
pro