Warenkorb

Es gibt keine Treffer zu Ihrer Suche

264181

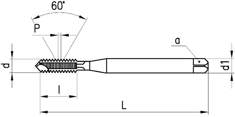
NERIOX Maschinen-Gewindebohrer Metrisches ISO-Gewinde

NERIOX
Produkteigenschaften:
P_HSS-E P_VAP P_M_ P_RH P_ISO2_6H P_B_3.5-5.5 P_Schaftform_Vierkant
Anwendung:
P_Hauptanwendung M_Nebenanwendung K_Nebenanwendung N_Nebenanwendung S_neutral H_neutral O_neutral P_Durchgangsloch
Typ UNI, HSS-E, vaporisiert, Metrisches ISO-Gewinde, Rechtsgewinde, Toleranzfeld ISO2 / 6H, Anschnittform B (3.5-5.5 x P), Zylinderschaft mit Vierkant
Leistungsklasse
Universell einsetzbar.
Lochart: Durchgangsloch.
Ausführungen:
M3...M10: Schaft verstärkt, DIN 371
Ist Bestandteil von:
264491 NERIOX Sortiment Gewindebohrer Metrisches ISO-Gewinde
Downloads:
Schnittdaten
6 gefundene Artikel
FILTER
d
d

Filter löschen
P [mm]
P [mm]

Filter löschen
Artikel Nr
Bezeichnung
d
M3 - M10
P [mm]
0.5 - 1.5
l [mm]
10 - 20
L [mm]
56 - 100
d1 [mm]
3.5 - 10
a [mm]
2.7 - 8
DIN
371
Ø [mm]
2.5 - 8.5
Netto CHF
zzgl. Versand
Staffelung
Netto CHF
zzgl. Versand
Menge
6 gefundene Artikel
Loading...
zzgl.
pro