Warenkorb

Es gibt keine Treffer zu Ihrer Suche

264060

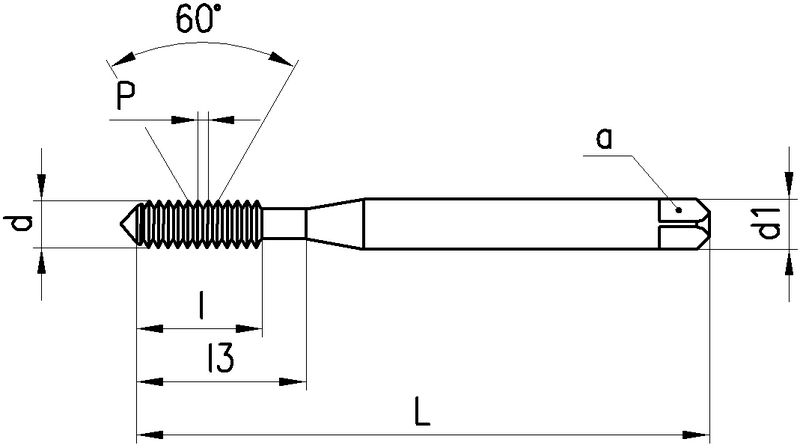
WALTER PROTOTYP Gewindeformer

Produkteigenschaften:
P_HSS-E P_CrN P_M_ P_RH P_6HX P_C_2-3 P_Schaftform_Vierkant
Anwendung:
P_Nebenanwendung M_neutral K_neutral N_Hauptanwendung S_Hauptanwendung H_neutral O_neutral P_DLSL_3
Typ ECO-LM, , HSS-E, CrN-Beschichtung, Metrisches ISO-Gewinde, Rechtsgewinde, Toleranzfeld 6HX, Anschnittform C (2-3 x P), Zylinderschaft mit Vierkant
Leistungsklasse
Für weiche, schmierende Werkstoffe (z.B. Aluminium).
Lochart: Durchgangsloch und Sackloch < 3 x d.
Ausführungen:
M2...M10: Schaft verstärkt, DIN 2174
M12: Schaft durchfallend, DIN 2174
Downloads:
Schnittdaten
9 gefundene Artikel
FILTER
d
d

Filter löschen
P [mm]
P [mm]

Filter löschen
Norm
Norm

Filter löschen
L [mm]
L [mm]

Filter löschen
Artikel Nr
Bezeichnung
d
M2 - M12
P [mm]
0.4 - 1.75
Norm
2174
L [mm]
45 - 110
a [mm]
2.1 - 7
d1 [mm]
2.8 - 9
l [mm]
6 - 23
l3 [mm]
11 - -
Ø [mm]
1.8 - 11.2
Netto CHF
zzgl. Versand
Staffelung
Netto CHF
zzgl. Versand
Menge
9 gefundene Artikel
Loading...
zzgl.
pro